DC综合时钟约束设置问题
补充说明
在脚本中,将int_clk和ext_clk都定义为master clock,其中ext_clk加了 add选项,然后想把他们给分频后的时钟作为对应的generated clock,
如下
create_generated_clock -name int_clk -sourceu_ic/u_clkgen/int_clk-divide_by 1 [get_nets u_ic/u_clkgen/int_clk_out]
create_generated_clock -name ext_clk -sourceu_ic/u_clkgen/ext_clk-divide_by 1 [get_nets u_ic/u_clkgen/ext_clk_out]
报错提示如下
Ignoring all 1 objects in collection '_sel18' because they are not of type port, or pin. (UID-445)
Error: Value for list 'source_objects' must have 1 elements. (CMD-036)
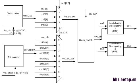
感觉是因为工具找不到source_objects,这里应该是int_clk_out和ext_clk_out,从上图可知,这两个都是mux的输出,不是模块的port也不是cell的pin,所以我选择了get_nets,这是否有问题?
几个问题
1int_clk和ext_clk是不是必须定义为主时钟点,即master clock?
2上述主时钟后有三级处理,分别为分频后的时钟int_clk_out和ext_clk_out(第一级),时钟切换clock swith后的时钟输出sys_clk(第二级),以及门控时钟后的时钟clk1和clk2(第三级),这几级的时钟是否都应该设置为generated clock?还是可以跳过其中的某一级?3 因为采用的标准单元中没有门控时钟单元ICG,因此时钟门控这里是自己用代码写的,基于latch的门控,在综合的时候需要做什么设置,是否还要加诸如set_clock_gating_style -sequential cell latch .......以及相关的约束?
4 能否给个参考的脚本?
顶起来
