How Does this circuit work?

Hi,all
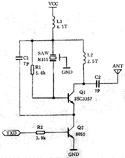
Here the circuit is a ASK transmitor,When the TXD=1,Q1 begin to oscillate,
But i don"t know how does this circuit works?
And what't the Surface Acoustic Wave(SAW315M)'s role in this circuit.I don't think this circuit can work!
I think we need another capacitor across the Collector and the Emittor of Q2,as a feedback capacitor to makes Q2 oscillate.
Am'i right? Thanks~~~~~~
Q1 and rest of the circuit is a oscillator. Q2 is simply an on/off switch. The purpose is modulate baseband onto it by switch Q2 on and off. ( an on off keying method )
Due to cost issue, people normally use circuit provided in pdf and then contol transistor base pin as on/off rather than use this circuit.
Rogerynt
i mean that this circuit cant't work(oscillate) without the capacitor across the collector and emittor of Q2
Do you mean while Q2 is off ?
Rogerynt
You can go ahead and try, but I predict it will STOP oscillating if you put a capacitor across Q2 (C-E)!
You could simulate it to make needed adjustments....
+++
Feedback capacitor is C1, 7pF. SAW resonator determines the oscillator's frequency.
hi ZengLei
I think when you draw the AC equivalent circuit of the diagram then you can find the capacitor C1 and inductor L! across the transistor Q2.
so no need to connect extra capacitor across the transistor Q2 It will oscillate by this L-C component.
