[Zynq征文]Zynq器件存储控制器介绍(原创)
基于Zynq器件的嵌入式开发时,我们不可避免地需要规划设计使用什么样类型和多大地内存与FLASH,本文就ZYNQ器件的存储控制器作一个抛砖引玉的描述,以期大家对它有个基本了解,如有不当或需要补充之处欢迎大家发言指出。
Zynq器件主要包括三种类型的存储控制接口:
① DDR控制器,主要特性如下:
·支持DDR3、DDR2、LPDDR2;
·支持位宽为16比特或32比特,位宽为16比特时支持ECC。
·使用多达73个PS专用引脚。
·模块支持:32比特位宽:4 x 8b, 2 x 16b, 1 x 32b
16比特位宽:2 x 8b, 1x 16b
·1.5v的DDR3最大速率支持到533 MHz(DDR1333)
·1.8v的DDR2最大速率支持到400 MHz(DDR800)
·1.2v的LPDDR2最大速率支持到400 MHz(DDR800)
·具有4个DDR控制端口,1个给PS专用,2个PL专用,1个外设/DMA/PL/PS共享。
·不支持DIMM
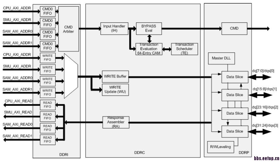
DDR控制器的框图如下:
主要包括三部分:
·DDRController Interface (DDRI),负责各个端口的读写请求和仲裁。
·DDR Controller Core (DDRC),负责对读写交易进行调度和排队。
·DDRController PHY (DDRP),物理层,直接和DDR3,DDR2,LPDDR2器件通信。
② Quad‐SPI控制器,主要特性如下:
·100 MHz32-bit APB 3.0接口支持各种操作,如读,写,搽除等操作。
·100 MHz32-bit AXI读接口时地址线性映射。
·读操作时支持x1, x2 和x4速度。
·写操作时支持x1和x4速度。
·主模式下最大SPI时钟达到100MHz。
·带有252字节的FIFO以最大化Quad‐SPI读效率。
·支持最大容量为128Mb的Quad‐SPI器件。
·支持两个Quad‐SPI器件并行使用。

注意当使用一个Quad‐SPI器件时,只能使用QSPI0,使用两个Quad‐SPI器件时,要保证器件是同样的(生产商和通信协议)。
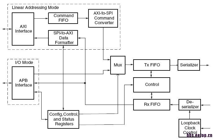
Quad‐SPI控制器有两种基本的使用模式:I/O模式和线性地址模式。
I/O模式:控制器只负责收发数据,需要软件开发者熟悉FLASH器件的通信协议,软件用四个TXD寄存器来写数据和命令,从FLASH读回来的数据存储在一个接收寄存器。这种模式支持FLASH器件的所有操作,如读操作,写操作和搽除操作。
线性地址模式:这种模式消除了I/O模式需要软件开发者自行发出读写命令的开销,线性地址模式下由硬件发出对FLASH的读命令并控制数据流向AXI总线接口,控制器响应AXI总线接口的请求,这仿佛把FLASH当作ROM存储器来操作,开发者不用关心低层细节,这种模式常用于直接在FLASH上执行代码的情形。
Quad‐SPI控制器的框图如下:
③ 静态存储控制器(Static Memory Controller (SMC)),能支持NAND Flash, NORFlash和SRAM。
NANDFlash控制器主要特性如下:
·支持8比特或16比特的数据宽度。
·符合ONFI specification 1.0标准
·16-word的读和写FIFO
·8-word的命令FIFO
·可编程的I/O周期时序
·ECC功能
·异步存储器操作模式
Parallel SRAM/NOR控制器主要特性如下:
·8比特数据宽度,支持最大25个地址线。
·2个片选信号(24位地址模式)
·16-word的读和写FIFO
·8-word的命令FIFO
·可编程的I/O周期时序,两个片选信号可分别设置
·异步存储器操作模式

注意使用SMC时可能占用比较多的MIO引脚,需要规划好防止引脚冲突。
静态存储控制器(SMC)的框图如下:
最后给出Zynq器件的存储地址分配表:

详细内容请参考XILINX官方文档UG585 (v1.2)
:Zynq‐7000EPP Technical Reference Manual的第四章内容。
学习学习。
學習學習學習學習學習學習學習學習學習學習學習學習學習學習學習學習學習學習學習學習學習學習學習學習學習學習學習學習學習學習學習學習學習學習學習學習學習學習學習學習學習學習學習學習學習學習學習學習學習學習學習學習學習學習學習學習學習學習學習學習學習學習學習學習學習學習學習學習學習學習學習學習學習學習學習學習學習學習
nice,收藏了,很好
在存储器件选型时,一定要了解SQPI PSRAM这样的器件。展讯的SC6250、RDA的8851、5981、MTK2523/2553可穿戴芯片,都使用了32/64Mb的PSRAM
当带宽合适时,应该优选选择QPI PSRAM。只要有Quad SPI接口,就可以使用,时钟速度可以达到133MHz,这样数据带宽就可以达到500Mbps,一般的语音、图像、GUI动画基本够用
怎么实现PS部分从SPI加载程序啊
