Simple FSK circuit - Where to start with
I am doing a project to design and simulate a transmission circuit. The core of the circuit if a Colpitts Oscillator and a FSK modulator. The osc frequency is 30 Mhz. I am reading abt Oscillator, many documents abt that. But FSK :( very hard to find. I wanna get a simple circuit to start with. My question is Can we use CMOS transistors to make a FSK modulator(simple one), I saw on the net there are a lot of diagrams abt FSK but in block type, some using matlab to model FSK, some use PLLs..... I am very new with RF so got a lot of troubles at the beginning.
Any suggestions for me to start with this problem. Ah i am using Cadence SpectreRF to simulate.
Tks
FSK is digitally modulated frequency modulation..nothing else..
But modulating signal can be filtered before applying to reduce the spectrum explosion..
If you design a VCO, you may apply digital information signal directly or through a filter to Vtune input with appropriate DC voltage to shift the center frequency..
You may also use a PLL and change your Ref signal. etc..
There are many methods..
Start with high level simulation by using Simulink block then go to ckt level is my opinion.
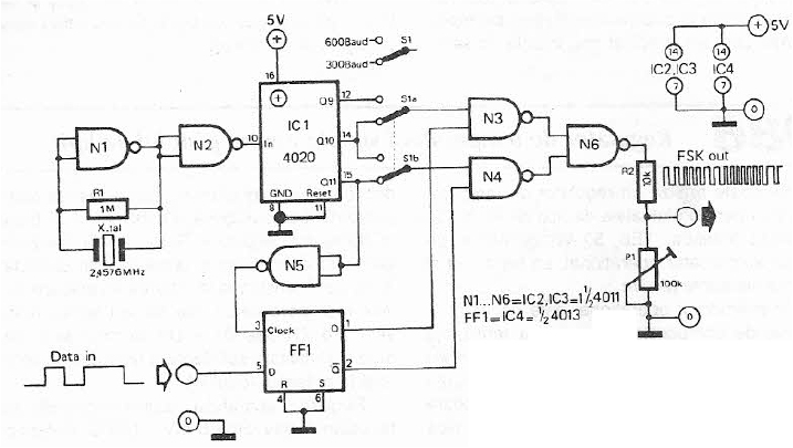
You can use the schematic below to generate two FSK datarates.

vfone ckt works but thanhFF want to use cadence and ttl models to generate FSK
Tks all for replying me. Be honest, my knowledge in this are very narrow. Coz the courses i studying based on CMOS technology. So i just wanna make simple circuitry based on that also. But it seems that not easy like I thought. How about this? If i wanna build a simple FSK, which sub-circuits I should look at, and do research about.I am not using Simulink just Cadence only, is it possible?
