基于ADSP21160的数字信号处理系统设计

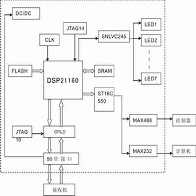
图1 系统的整体框图
外扩存储器模块:ADSP21160是高性能的32位浮点处理器,对外最多可使用64位的数据总线。考虑到系统的精度要求及内部数据的处理模式,本系统对外只使用了32位的数据总线。这样,在外扩存储器的选择上,考虑到价格等因素,选用了两块256K×16位的SRAM并联构成32位的外扩存储器,如图2所示。

图2 ADSP21160与SRAM的连接
在地址线的连接上,和一般的接法梢有不同。由于ADSP21160规定,对外部空间的寻址,其奇地址通过低32位数据线传递;偶地址通过高32位数据线传递。考虑到在FLASH的连接上使用了DSP数据线的32_39位,为了简化今后PCB板的布线及充分利用SRAM的存储空间,在设计中,将ADSP21160的ADDR0的引脚悬空,将其ADDR1引脚与SRAM的addr0管脚相连,ADDR2与addr1相连,以下顺次连接。
外部通信接口模块设计
目标板通过一个50针接口与接收机相连,通过RD_REQ、RD_PMT、RD_EN、RD_CLK四根控制信号线进行,从接收机内部开辟的存储空间读取数据。
在本系统的设计中,其中间运算数据均采用32位浮点数,输出结果截取8位有效数字,通过并串转换器(ST16C550)转换成串行数据,再分成两路,一路经过MAX488转换成差分数据输送的外部控制器,另一路经过MAX232转换电平,连接到计算机,实现了系统要求的功能,如图3所示。

图3 ADSP21160的数据输出
结语
ADSP21160 功能强大,但在电源配置上稍显复杂。本系统利用2.5V电源输出作为3.3V的输出使能,成功的解决了这一问题。另外,在达到系统要求的基础上,为降低设计难度,对时钟和数据线都进行了特殊的设计。时钟采用片外中低频(20MHz),片内倍频到最大频率(80MHz)的设计,降低了PCB板对中高频布线要求;数据线通过悬空0位地址,将片外线宽从64位降低至32位,大大降低了ADSP21160周边的线密度,从而大大降低了PCB板的布线难度。
DSP ADI 电路 总线 CPLD 电源模块 电压 电流 仿真 PCB 相关文章:
- 单片式降压型稳压器为DSP提供片内电源排序(01-09)
- 什么是PCI总线?其接口芯片的应用(01-26)
- 功率分配系统(PDS)设计:利用旁路电容/去耦电容(04-29)
- 具有多个电压轨的FPGA和DSP电源设计实例(05-22)
- 具有多个电压轨的FPGA和DSP电源设计实例(二) (05-22)
- 基于DSP和CPLD的移相全桥软开关电源数字控制器(06-02)
