Transmission means in terms of the frequency response
时间:04-08
整理:3721RD
点击:
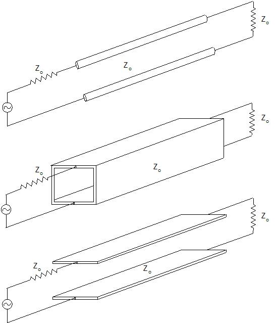
does someone know what is the difference between the three transmission means in terms of the frequency response, from zero to infinity?

TEM mode does not exist in Rectangular Waveguide.
So transmission characteristics of Rectangular Waveguide is Highpass.
Here I assume no loss in wall.
On the other hand, TEM mode exist in other two.
So transimission characteristics from DC is possible for other two.
But for high frequency radiation loss due to open structure is remarkable.
Other two show Lowpass transmission characteristics.
To Pancho,
Thanks a lot!
For the other two have sa TEM mode, are there frequency response is exactly same, or different due to the different shape?
Thanks!
Cutoff frequency of parallel feed line is lower than parallel plate line.
means Transmission terms 相关文章:
