PIN diode controlled variable attenuator
I'm a telecommunications student and I recently enter on a project that consists on constructing a printed circuit which can attenuate (or not ) a AC signal. The attenuation should be controlled by a DC Voltage. The working frequency should be 2.4 Ghz.
I already found some data in the internet. I would be really gratefull if someone can give me more information about this subject.
Looking foward to hear from you
Jo?o Vieira
Check Avago's webpage for application notes of PIN diodes, like AN-1048, AN-922, etc...
BA595 makes a nice broadband RF attenuator.
We use Avago HSMP3816 etc.
PIN Diodes are available from different manufacturers as well as Attenuator blocks ready to use for that frequency.
These blocks are also digitally controlled as well as analog voltage controlled.
Look at www.hittite.comand www.macomtech.cometc..
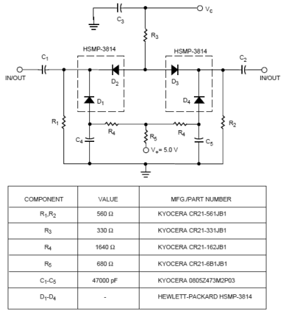
an example

if you do not want to use an integrated solution, you may want to opt for an hybrid type of approach. See attached old but still valid paper from Agilent. Let me know for more questions, I have been working quite a lot lately on a similar solution but for 2.1 GHz using HSMP-4810.
