基于DSP的高精度伺服位置环设计方案
数为:

当Fpos(s)=1/(Gspd(s)Gm(s))时,H(s)=1,则可使输出完全复现输入信号,且系统的暂态和稳态误差都为零。其中当速度调节器采用PI控制时,在位置环的截止频率远小于速度环的截止频率时,速度环可等效为一个惯性环节,电机可等效为一个积分环节,于是Fpos(s)可以看成加速度前馈和速度前馈两部分[5],其中:位置前馈中加速度项差分方程:

式中R(k)为第K个采样周期中的位置给定信号;Yaf为第K个采样周期中加速度信号的输出,Kaf为加速度前馈比例系数。
位置前馈中速度项差分方程:

式中R(k)为第K个采样周期中的位置给定信号;Yaf为第K个采样周期中速度信号的输出,Ksf为速度前馈比例系数。
相应的位置环P的差分方程:

式中R(k)为第K个采样周期中的位置给定信号;C(k)为第K个采样周期中的位置反馈信号,Ye为第K个采样周期中位置环信号的输出,Kc为位置环比例系数。
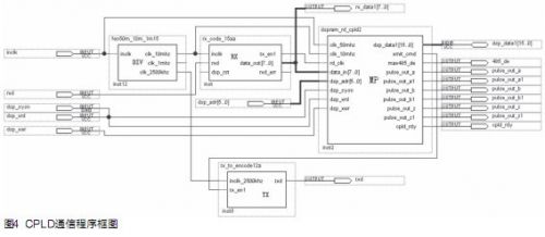
绝对式编码器通信程序
绝对式编码器与DSP的接口采用CPLD作为接口芯片。CPLD的程序采用VHDL语言编写,程序结构如图4所示。此电路完成串行输入数据到并行输出数据的转换,以及并行输入数据到串行输出数据的转换。

图4中,模块div为时钟分频器,TX模块接收来自微处理器接口模块MP的8位并行数据,并通过端口DOUT将数据串行输出到RS-485端口。反过来,RX模块接收串行数据输入,并以8位并行格式发送至MP模块,MP模块同时将接收到的位置信号转成脉冲形式输出,实现与CNC的连接。
实验结果分析
本设计,应用虚拟仪器技术设计出实验测试平台,记录实验测试结果。虚拟测试平台配置如下:软件NI LabVIEW 8.0,硬件NI M系列多功能数据采集卡PCI-6251,16、NI 计数器/定时器PCI-6602。
图5给出了加工过程中的速度波形。图5表明,系统的加、减速时间小于200ms;无位置超调;稳定时,速度波动小于0.1转。速度频率响应:大于300Hz;速度波动率:小于±0.01%(负载0~100%)、0(电源±10%);调速范围:0.1rpm~3000rpm;回转定位精度:1个脉冲。

图6给出了驱动器配国产某品牌加工中心的机械加工结果。实验测试数据:上表面表面粗糙度Ra1.6μm;侧面(即测量面)的粗糙度Ra3.2μm。

结语
针对数控机床进给控制,采用磁场定向控制与前馈补偿控制,以 TMS320F2812DSP 控制器、IPM功率模块、TS5667N120 17位绝对式编码器为主要功能部件,设计出的永磁同步电机伺服驱动控制器,在数控加工中心的应用中,具有定位无超调、高刚性、高速度稳定性,达到了设计指标,可以满足微米级加工精度的要求。
- 在采用FPGA设计DSP系统中仿真的重要性 (06-21)
- 基于 DSP Builder的FIR滤波器的设计与实现(06-21)
- 达芬奇数字媒体片上系统的架构和Linux启动过程(06-02)
- FPGA的DSP性能揭秘(06-16)
- 用CPLD实现DSP与PLX9054之间的连接(07-23)
- DSP+FPGA结构在雷达模拟系统中的应用(01-02)
