无刷直流风扇电机180度正弦波控制
时间:11-04
来源:互联网
点击:
目前的变频风扇一般采用无刷直流电机,因其无励磁绕组、无换向器、无电刷、无滑环,结构比一般传统的交、直流电动机简单,运行可靠,维护简单。与鼠笼型感应电动机相比,其结构的简单程度和运行的可靠性大体相当,但由于没有励磁铁耗和铜耗,功率在300W以下时,其效率比同规格的交流电机高 10%~20%。
无刷直流电机一般采用方波驱动,采用霍尔传感器采样转子位置,以此为基准信号控制绕组强制换相。这种方案控制方法简单,成本低,在目前电动车方案中应用广泛。但由于方波驱动换相时会出现电流突变,导致转矩脉动较大,转动不平稳,噪声指标较差,难以在家电应用领域推广。而正弦驱动可以避免换相时的电流突变,虽然最大转矩会降低,但在噪声指标上有明显的优势。
通常电机变频控制都采用DSP实现,还需要提供传感器精确检测转子位置,可实现高精度控制,但DSP方案开发成本和应用成本都很高,家电应用对价格非常敏感,传统的DSP电机矢量控制方案比较难推广。由于某些家电应用对动态响应等性能要求不高,如风扇,可以用稍微降低性能但大幅度降低成本的方案来代替DSP方案。本文提出了8位单片机的正弦波驱动方案来满足这种需求。
硬件选型
1 正弦波信号产生
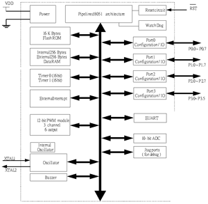
本方案控制核心为一颗集成PWM发生器的8位单片机——中颖SH79F168,其内部框图如图1所示。此MCU采用优化的单机器周期8051内核,内置16KB闪存,兼容传统8051所有硬件资源,但最高指令执行速度提高12倍,采用JTAG在线仿真方式,内置16.6MHz振荡器,同时扩展了如下功能:双DPTR指针;16位×8乘法器和16位/8除法器;3通道12位带死区控制PWM,6路输出,输出极性可单独设定,提供中心对齐和边沿对齐模式;集成故障检测功能,可瞬时关闭PWM输出;内置放大器和比较器,可用作电流放大采样和过流保护;提供硬件抗干扰措施,例如PC指针溢出复位等;提供Flash自编程功能,可以模拟用做EEPROM,方便存储参数。

图1 MCU内部框图
由于集成PWM发生器和电流放大/比较器,一颗SH79F168就可以完成所有控制功能,而且采用8051内核,上手容易。
设计原理
整个系统采用SH79F168为主控MCU,MCU输出的PWM信号直接和功率模块连接,控制功率管的通断。同时MCU还负责电压电流ADC检测,霍尔位置检测,速度给定输入转换,实际转速信号输出以及电机控制算法等功能,结构如图2所示。

图2 控制部分结构图
功率部分采用智能功率模块,可用MCU输出信号直接控制,PCB Layout时需注意snubber电容要尽量靠近SPM,减小引线电感,同时自举升压二极管需选用高耐压快恢复二极管,结构如图3所示。

图3 功率部分结构图
霍尔相序自动测定
为了实现自动判别霍尔(Hall)输出信号与转子磁动势的位置关系,常采用的办法是给二相绕组持续通电,让转子固定在某个位置,记录下对应的Hall信号值。但这种方法有缺陷,定子合成磁势的方向正好和霍尔位置重叠,这样可能导致误判。本方案采用另外一种方法避开解决此问题,采用三相通电,这样定子合成磁势的方向刚好与霍尔位置错开30°电角度,确保了读到的霍尔值的准确性。
正弦波控制方式
得知Hall输出信号与转子磁动势位置的关系之后,可以产生正六边形的旋转磁场,如图4所示,AB相绕组通电,产生图中合成磁势Fa,由于Fa的牵引,Ff将会顺时针旋转,旋转到X位置后,换成给AC相通电,则Fa顺时针跳跃60°电角度,牵引Ff顺时针旋转60°,依次类推,通电顺序按照AB-AC-BC-BA-CA-CB-AB循环,则带动永磁转子顺时针旋转。这就是传统的方波控制方式。

图4 二极三相绕组示意图
由电机基础理论可知:T=K*Fa*Ff*sinθ。式中K为常数,Ff为定子合成磁动势,Fa为转子磁动势,θ为定子磁动势和转子磁动势的夹角,显然θ=90°时转矩最大。方波控制以六步运行,θ在60°?120°之间变化,因此不是恒定转矩,正弦波控制的目的就是控制定子磁链方向,尽量保持定子磁链方向和转子磁链方向垂直。(这也就是DSP矢量控制追求的目标——定子磁链定向控制)。这样转矩最大且恒定,没有转矩脉动。
要想获得上述效果,需要知道转子精确位置,采用光电编码盘定位准但成本高,家电应用中负载确定,电机转速不会突变,因此本方案采用目前无刷电机标配的霍尔传感器来检测转子位置。60°电角度内认为转子速度恒定,转子位置采用软件模拟定位。转子旋转360°电角度,霍尔传感器有六种输出,在程序中作出一个360°正弦波的表,每隔60°分段,通过读取3路霍尔的当前值,软件取不同的段,取出的数据送入PWM发生器的占空比寄存器,就可以复现一个完整的360°正弦波,取表间隔时间以上一霍尔周期实际测试时间为参考动态调整。
无刷直流电机一般采用方波驱动,采用霍尔传感器采样转子位置,以此为基准信号控制绕组强制换相。这种方案控制方法简单,成本低,在目前电动车方案中应用广泛。但由于方波驱动换相时会出现电流突变,导致转矩脉动较大,转动不平稳,噪声指标较差,难以在家电应用领域推广。而正弦驱动可以避免换相时的电流突变,虽然最大转矩会降低,但在噪声指标上有明显的优势。
通常电机变频控制都采用DSP实现,还需要提供传感器精确检测转子位置,可实现高精度控制,但DSP方案开发成本和应用成本都很高,家电应用对价格非常敏感,传统的DSP电机矢量控制方案比较难推广。由于某些家电应用对动态响应等性能要求不高,如风扇,可以用稍微降低性能但大幅度降低成本的方案来代替DSP方案。本文提出了8位单片机的正弦波驱动方案来满足这种需求。
硬件选型
1 正弦波信号产生
本方案控制核心为一颗集成PWM发生器的8位单片机——中颖SH79F168,其内部框图如图1所示。此MCU采用优化的单机器周期8051内核,内置16KB闪存,兼容传统8051所有硬件资源,但最高指令执行速度提高12倍,采用JTAG在线仿真方式,内置16.6MHz振荡器,同时扩展了如下功能:双DPTR指针;16位×8乘法器和16位/8除法器;3通道12位带死区控制PWM,6路输出,输出极性可单独设定,提供中心对齐和边沿对齐模式;集成故障检测功能,可瞬时关闭PWM输出;内置放大器和比较器,可用作电流放大采样和过流保护;提供硬件抗干扰措施,例如PC指针溢出复位等;提供Flash自编程功能,可以模拟用做EEPROM,方便存储参数。

图1 MCU内部框图
由于集成PWM发生器和电流放大/比较器,一颗SH79F168就可以完成所有控制功能,而且采用8051内核,上手容易。
设计原理
整个系统采用SH79F168为主控MCU,MCU输出的PWM信号直接和功率模块连接,控制功率管的通断。同时MCU还负责电压电流ADC检测,霍尔位置检测,速度给定输入转换,实际转速信号输出以及电机控制算法等功能,结构如图2所示。

图2 控制部分结构图
功率部分采用智能功率模块,可用MCU输出信号直接控制,PCB Layout时需注意snubber电容要尽量靠近SPM,减小引线电感,同时自举升压二极管需选用高耐压快恢复二极管,结构如图3所示。

图3 功率部分结构图
霍尔相序自动测定
为了实现自动判别霍尔(Hall)输出信号与转子磁动势的位置关系,常采用的办法是给二相绕组持续通电,让转子固定在某个位置,记录下对应的Hall信号值。但这种方法有缺陷,定子合成磁势的方向正好和霍尔位置重叠,这样可能导致误判。本方案采用另外一种方法避开解决此问题,采用三相通电,这样定子合成磁势的方向刚好与霍尔位置错开30°电角度,确保了读到的霍尔值的准确性。
正弦波控制方式
得知Hall输出信号与转子磁动势位置的关系之后,可以产生正六边形的旋转磁场,如图4所示,AB相绕组通电,产生图中合成磁势Fa,由于Fa的牵引,Ff将会顺时针旋转,旋转到X位置后,换成给AC相通电,则Fa顺时针跳跃60°电角度,牵引Ff顺时针旋转60°,依次类推,通电顺序按照AB-AC-BC-BA-CA-CB-AB循环,则带动永磁转子顺时针旋转。这就是传统的方波控制方式。

图4 二极三相绕组示意图
由电机基础理论可知:T=K*Fa*Ff*sinθ。式中K为常数,Ff为定子合成磁动势,Fa为转子磁动势,θ为定子磁动势和转子磁动势的夹角,显然θ=90°时转矩最大。方波控制以六步运行,θ在60°?120°之间变化,因此不是恒定转矩,正弦波控制的目的就是控制定子磁链方向,尽量保持定子磁链方向和转子磁链方向垂直。(这也就是DSP矢量控制追求的目标——定子磁链定向控制)。这样转矩最大且恒定,没有转矩脉动。
要想获得上述效果,需要知道转子精确位置,采用光电编码盘定位准但成本高,家电应用中负载确定,电机转速不会突变,因此本方案采用目前无刷电机标配的霍尔传感器来检测转子位置。60°电角度内认为转子速度恒定,转子位置采用软件模拟定位。转子旋转360°电角度,霍尔传感器有六种输出,在程序中作出一个360°正弦波的表,每隔60°分段,通过读取3路霍尔的当前值,软件取不同的段,取出的数据送入PWM发生器的占空比寄存器,就可以复现一个完整的360°正弦波,取表间隔时间以上一霍尔周期实际测试时间为参考动态调整。
电动机 传感器 电流 DSP 单片机 PWM MCU 仿真 振荡器 放大器 比较器 电压 ADC PCB 电容 电感 二极管 霍尔传感器 相关文章:
- 基于DSP高精度伺服位置环设计(06-21)
- 基于DSP的工业缝纫机控制系统设计(09-23)
- 无传感器交流电动机控制技术提高了运行效率(10-15)
- 一种变频调速系统的SVPWM控制设计(02-03)
- FPGA在步进电机控制中的应用(03-07)
- 用C8051F构成的采集与控制系统(03-09)
