C8051F020的音频峰值采集和网络传送
时间:11-06
来源:互联网
点击:
广播信号经节目制作播出、信号传送、发射等环节,最终在听众用户端收听,其中各个环节的系统工作状态都会对最终的播出质量产生影响。为全面监测广播信号播出过程中多个环节的信号质量,同时对高周信号和低周信号(音频基带信号)的音频峰值进行监测,就要求音频峰值监测终端对广播信号播出端、发射端以及解调后的音频信号进行监测。一般电台的制作播出端、发射端、监测控制端不在同一地点。以上海为例:制作播出在虹桥路广播大厦;发射端在东方明珠电视塔;监测中心在北京路外滩。最好的监测方法就是各地点分别采集,再通过内部的局域网将采集的数据传送到监测中心集中分析处理。
1 原理框图
C8051F020是美国Silicon Laboratories公司生产的8051系列完全集成的混合信号ISP Flash微控制器。
基于C805lF020的音频峰值采集终端输人平衡音频信号,经减法电路、增益调整电路、负波形反相电路、检波电路、射极跟随电路和分压电路,最终利用单片机内部的8位和12位A/D转换器,可以一次采集16路音频峰值数据。C8051F020单片机将峰值数据和GPS(全球定位系统)时间打包为应用层数据,再通过UDP层、IP层和以太网层协议,最终打包为以太网包,通过以太网接口芯片RTL8019AS将数据发送到局域网上。原理框图如图1所示。
2 峰值采集电路分析
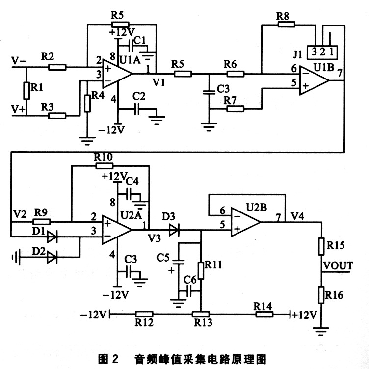
音频峰值采集电路的输入部分为减法电路,如图2所示。输入信号可以为平衡音频信号:

将R2、R3、R4、R5取为相等阻值,则可以得到:
V1=V+—V-
二级运放电路为反相比例放大器,可以调整信号的增益:

三级运放电路为负波形反相电路,当信号正相时,Dl导通,电路表现为电压跟随器电路:V3=V2+其中,V2+是V2信号的正相电压部分。
当信号负相时,D2导通,电路表现为反相比例放大器电路特性,假设R9=R10=10 kΩ则:

其中,V2是V2信号的负相电压部分。
所以经过第三级运放以后:V3=V2+一V2一
二极管D3采用检波二极管,与电容C5组成检波电路;电阻R12、R13和R14为电压调零网络;R15和R16组成的分压电路将信号范围调整进了C8051F020的A/D转换的电压范围。模数转换子程序如下:
void ADC0_and_ADCl(unsigned char xdata*adc0,unsigned
char xdata*adcl){
unsigned char i;
ADOINT=0:
ADClCN=ADClCN & 0xDF:
for(i=0;i<8;i++){
AMXOSL=i;//选择ADC0/ADCl的输人端口
AMXlSL=i:
ADOBUSY=1:
ADClCN=A13(21CN 1 0x10:
while((ADClCN&0x20)==O);//等待ADCl数据转换结束
ADClCN=ADClCN&0xDF:
adcl=ADCl;
while(ADOlNT==O);//等待ADC0数据转换结束
ADOINT=0;
adc0=ADCOH;
}
}
3 网络传送技术要点
网络传送部分主要负责将采样后的音频峰值信息以及采集时间,通过以太网将数据发送到目标PC机进行数据处理。应用层协议如表1所列。
应用层协议调用UDP.C将应用层数据打包成UDP包,并绑定目标地址发送。使用UDP传送方式主要基于以下考虑:
①TCP要求目标端连接,方式复杂,会消耗单片机大量时间资源。以往的经验表明会出现连接不可靠或断开的情况。
②有大量的、实时的、长时间的音频峰值数据发送,UDP方式更适合这种应用。
一般指定的目标地址为IP地址,要得到目标机器的以太网地址,需要ARP协议(地址解析协议)的支持。以下是接收到ARP包后的处理程序:
void arp_rcve(UCHAR xdata*inbuf){
:
//是否收到有效的ARP包
//查看是否有已收到的IP地址,如果有则更新入口和重
//启时间
if(arp一>dest_ipaddr!=my_ipaddr)return;//目标地址
//不指向自己,返回
//找空白的IP地址储存条目。没有找到空白的lP地址
//储存条目,找到最旧的条目并替换。找不到最旧的条
//目,不替换
if(arp一>message_type==ARP_RESPONSE){//收到
//ARP回应包
//如果本机处于等待ARP回应状态,回应的IP是要等待
//的IP地址
if((waiting_for_arp)&&(wait.ipaddr==arp一>
Source_ipaddr)){
waiting_for_arp=FALSE;//清除等待标志
ip_send(waic buf.wait.ipaddr,wait.pmto_id,wait.len);
}
}
else if(arp一>message_type==ARP_REQUEST){
arp_send(arp一>source_hwaddr,arp一>source_ipad—
dr,ARP_RESPONSE);
}//如果收到ARP请求包,发送ARP请求回应
)
ARP协议会定时访问ARP存储缓冲,如果缓冲中的条目生命时间到达,ARP协议会将该条目删除。为了保证数据发送目标地址的硬件地址不被移去,程序中硬性规定ARP缓冲中目的地址的ARP条目不会因为时间而移去。
void age arp_cache(void){
UCHARi;
for(i=0;i
<CACHESIZE}I++){
//目的地址的ARP条目不会因为时间而移去
if(arp_cache.ipaddr!=udp_dest_ipaddr_rw){
if((arp_cache.ipaddr!=0)&&(arp_cache.
timer)){
arp cache.timer一一;
//生命时间到达.条目的IP地址项清零
if(arp_cache.timer==O)arp_
cache.ipaddr=01
}
}
}
}
网络传送的硬件部分由C8051F020和RTL8019AS组成,构成10M以太网接口。以太网和IP地址可通过串口配置保存在Flash中,C8051F010上电后将以太网地址传送给RTL8019AS。RTL8019AS初始化后完成以太网层数据包的接收和发送。
1 原理框图
C8051F020是美国Silicon Laboratories公司生产的8051系列完全集成的混合信号ISP Flash微控制器。
基于C805lF020的音频峰值采集终端输人平衡音频信号,经减法电路、增益调整电路、负波形反相电路、检波电路、射极跟随电路和分压电路,最终利用单片机内部的8位和12位A/D转换器,可以一次采集16路音频峰值数据。C8051F020单片机将峰值数据和GPS(全球定位系统)时间打包为应用层数据,再通过UDP层、IP层和以太网层协议,最终打包为以太网包,通过以太网接口芯片RTL8019AS将数据发送到局域网上。原理框图如图1所示。


2 峰值采集电路分析
音频峰值采集电路的输入部分为减法电路,如图2所示。输入信号可以为平衡音频信号:

将R2、R3、R4、R5取为相等阻值,则可以得到:
V1=V+—V-
二级运放电路为反相比例放大器,可以调整信号的增益:

三级运放电路为负波形反相电路,当信号正相时,Dl导通,电路表现为电压跟随器电路:V3=V2+其中,V2+是V2信号的正相电压部分。
当信号负相时,D2导通,电路表现为反相比例放大器电路特性,假设R9=R10=10 kΩ则:

其中,V2是V2信号的负相电压部分。
所以经过第三级运放以后:V3=V2+一V2一
二极管D3采用检波二极管,与电容C5组成检波电路;电阻R12、R13和R14为电压调零网络;R15和R16组成的分压电路将信号范围调整进了C8051F020的A/D转换的电压范围。模数转换子程序如下:
void ADC0_and_ADCl(unsigned char xdata*adc0,unsigned
char xdata*adcl){
unsigned char i;
ADOINT=0:
ADClCN=ADClCN & 0xDF:
for(i=0;i<8;i++){
AMXOSL=i;//选择ADC0/ADCl的输人端口
AMXlSL=i:
ADOBUSY=1:
ADClCN=A13(21CN 1 0x10:
while((ADClCN&0x20)==O);//等待ADCl数据转换结束
ADClCN=ADClCN&0xDF:
adcl=ADCl;
while(ADOlNT==O);//等待ADC0数据转换结束
ADOINT=0;
adc0=ADCOH;
}
}
3 网络传送技术要点
网络传送部分主要负责将采样后的音频峰值信息以及采集时间,通过以太网将数据发送到目标PC机进行数据处理。应用层协议如表1所列。

应用层协议调用UDP.C将应用层数据打包成UDP包,并绑定目标地址发送。使用UDP传送方式主要基于以下考虑:
①TCP要求目标端连接,方式复杂,会消耗单片机大量时间资源。以往的经验表明会出现连接不可靠或断开的情况。
②有大量的、实时的、长时间的音频峰值数据发送,UDP方式更适合这种应用。
一般指定的目标地址为IP地址,要得到目标机器的以太网地址,需要ARP协议(地址解析协议)的支持。以下是接收到ARP包后的处理程序:
void arp_rcve(UCHAR xdata*inbuf){
:
//是否收到有效的ARP包
//查看是否有已收到的IP地址,如果有则更新入口和重
//启时间
if(arp一>dest_ipaddr!=my_ipaddr)return;//目标地址
//不指向自己,返回
//找空白的IP地址储存条目。没有找到空白的lP地址
//储存条目,找到最旧的条目并替换。找不到最旧的条
//目,不替换
if(arp一>message_type==ARP_RESPONSE){//收到
//ARP回应包
//如果本机处于等待ARP回应状态,回应的IP是要等待
//的IP地址
if((waiting_for_arp)&&(wait.ipaddr==arp一>
Source_ipaddr)){
waiting_for_arp=FALSE;//清除等待标志
ip_send(waic buf.wait.ipaddr,wait.pmto_id,wait.len);
}
}
else if(arp一>message_type==ARP_REQUEST){
arp_send(arp一>source_hwaddr,arp一>source_ipad—
dr,ARP_RESPONSE);
}//如果收到ARP请求包,发送ARP请求回应
)
ARP协议会定时访问ARP存储缓冲,如果缓冲中的条目生命时间到达,ARP协议会将该条目删除。为了保证数据发送目标地址的硬件地址不被移去,程序中硬性规定ARP缓冲中目的地址的ARP条目不会因为时间而移去。
void age arp_cache(void){
UCHARi;
for(i=0;i
<CACHESIZE}I++){
//目的地址的ARP条目不会因为时间而移去
if(arp_cache.ipaddr!=udp_dest_ipaddr_rw){
if((arp_cache.ipaddr!=0)&&(arp_cache.
timer)){
arp cache.timer一一;
//生命时间到达.条目的IP地址项清零
if(arp_cache.timer==O)arp_
cache.ipaddr=01
}
}
}
}
网络传送的硬件部分由C8051F020和RTL8019AS组成,构成10M以太网接口。以太网和IP地址可通过串口配置保存在Flash中,C8051F010上电后将以太网地址传送给RTL8019AS。RTL8019AS初始化后完成以太网层数据包的接收和发送。
电路 单片机 GPS 放大器 电压 二极管 电容 电阻 ADC 相关文章:
- 浅谈E1线路维护技术与应用(01-12)
- R4网络接口和电路域容灾技术(01-05)
- 移动通信网引入IMS的相关探讨(02-21)
- 未来接入网的结构与演进(01-26)
- 电子熔丝在计算机应用中的优势(06-08)
- 高性能、高集成度的TD-SCDMA模拟基带集成电路的实现和应用(01-09)
