Need Help in designing Beacon
I want to design a beacon which works @ 51.2MHz.
The range is around 10km. ( I am thinking my output power should be atleast 100~150mW)
I want to do one experiment where I will put this beacon on sea surface & transmit in pulsed or Continuous mode.
How should I proceed to design this circuit?
This will be controlled by relay for continuous or pulsed operation.
Some one told me that I can use crystal oscillator & then use frequency doubler to get this frequency
and power amplifier at the output to increase output power.
Is it advicable?
Does anyone has experience in making such beacons?
Please help.
Thanks.
For fixed frequency, using a crystal controlled oscillator is an option (if you have such crystal). There are many radio amateur sites (HAM sites) that may guide you. Your frequency is in the 6m amateur band.
I assume you will use on/off keying or FSK (morse code) to identify the beacon. Whether 150mW is enough (assuming reception with a single side band capable receiver) depends on the terrain, antenna and antenna height.
Some examples: Building a Low Power Beacon for 6m
HAM Radio Projects shows many links to various transmitter related building projects.
Hi WIMRFP
Thanks alot for the reply.
Really Appreciate your quick response. I will look in the website for more details.
I am not sure about power, I know that I can get maximum 27V & 4A current to my total circuit
& To Oscillator I can give 9V supply.
So I think I can draw power up to 25 or 27dBm for pulsed operation atleast!.This circuit will be working on sea surface. ( On Buoy)
I am not going to design antenna, its made by some on else.
I am helping somebody to make RF circuits :)
I also have to design Tx & Rx for 121.5Mhz.
Signal will be modulated by voice signal. This is kind of rescuing purpose where person can talk & receive signals.
This should work maximum up to 5KM.
Beacon will be used for identifying position. Tx & RX for communication.
I am not sure about receiver @ other end. ( It is present on rescue ship)
As I can see from your discussion, you want to build a high-power transmitter on a buoy while "not being sure about the receiver".
Apparently you intend to build a search and rescue SYSTEM. So please start finding all necessary data for it, and start from the receiver first.
If you intend to use any frequency, you should make sure YOU ARE A LICENSED USER OF IT! Nobody is allowed to start transmitting anything "somewhere".
For search and rescue, there are already existing rules and systems, like COSPAR-SARSAT utilizing satellites. Different states and organizations have local short-range systems. For maritime search and rescue, special frequencies are assigned for emergency calls and communication.
If you meet all above RULES AND REGULATIONS, you must design a SYSTEM: receiver, transmitter, antennas (quite important at 51 MHZ and higher).
Abhishekabs: I first thought it was a radio amateur application.
I would definitely follow the path as indicated by jiripolivka. In several countries, illegal frequency use is heavily penalized.
Before building anything, you should do the paper work (if that hasn't been done by somebody else).
Regarding the distance, 10 km is feasible with vertical polarization (52 MHz) over seawater and an EIRP of about 100mW, assuming low data rate and good receiver site.
When you design, you should consider the weather, say rain, snow, etc, so you can use FM against the weather factors.
Although the rain attenuation maybe low at 100MHz, you should consider that for better link budget and voice quality.
No problem about license. It is licensed.
My Buoy Receiver requirement is narrowband that is 220KHz. ( 51.2MHz +/- 110Khz)
Also for Tx., very less deviation is allowed around 100KHz. ( 51.2MHz +/- 50KHz)
So I am thinking which kind of oscillator will give me such stable output?
Also @ receiver what should be configuation ? ( Superheterodyne or Super regenerative ?)
I do not much about super regenerative design ( that Quenching oscillator concept is not cleared to me )
Can you please comment?
Hello Abhishekabs,
Do I understand you well that there will be a receiver in the beacon so it can be controlled remotely?
Regarding stability: your 100 kHz stability (at 50 MHz) is easy to get with a reasonable crystal without temperature compensation. If the boundary conditions permit, I would go for a simple constant envelope modulation scheme (PSK or FSK). This enables the use of a power-efficient class C output stage instead of a low efficiency linear amplifier. I assume that you have limited data per transmission (beacon ID, temperature, GPS position, water wave info, some error correction bits, etc).
I also assume that you will use an intelligent fixed site receiver (with DSP demodulation), so that you can have almost optimum demodulation of your PSK/FSK scheme, as long as the transmitter transmits within your 220 kHz bandwidth.
As an example, you may look into the details of the ARGOS satellite tracking system. Note that for ARGOS the transmitter requirements are high as position is determined based on doppler shift as experienced by satellites in polar orbit (so you need a very stable transmitter).
10M TCXO always have +-5ppm freq precision, so you use PLL to lock the freq to the 50M. If you use fractional synthesizer, your freq deviation is about +-250Hz.
And if you use FSK modulation, you can directly add the modulation in the PLL to control the 50M VCO.
At the receiver, you use Superheterodyne. So you need two VCO for tx and rx respectively.
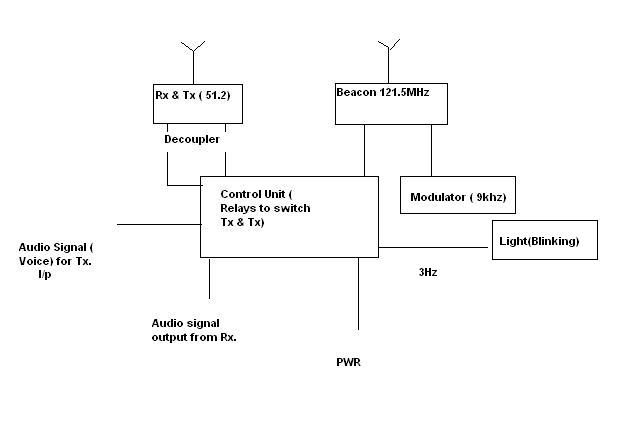
No Beacon do not have receiver.
Please check attached image for system.
Beacon frequency signal is modulated by 9Khz signal & it is transmitted. ( 121.5MHz)
Rescue team finds the position after receiving this tone.
When they come in the raneg of 51.5MHz signal, they can talk to rescue team.
using seperate Tx & Rx present on Buoy.
Can you recommend any transistor for making oscillator for 50MHz & 121MHz?
BJT or FET will be useful in this case?
To make a good oscillator, any bipolar or RF FET can be used. I used 2N2222 and many other types.
I would recommend you the ARRL Radio Amateurs' Handbook where you can find good oscillator designs. For both frequencies you can also use quartz crystals tyo stabilize the frequency.
Sure I will check in ARRL handbooks. I was searching for Super regenrative receiver information but did not find much help.
Can you suggest any book or article for designing same?
At this moment I am unable to offer you good reference on superregenerative receivers. I have built many such receivers, from ~30 MHz with vacuum tubes to 432 MHz with transistors. You can modify any oscillator to operate as a superregenerative detector by adjusting its base bias resistor to ~ >100 kOhms instead of <10 kOhms, and include a capacitor in it, to achieve an interrupted oscillation. The interruption period by this bias RC time constant should be < 0.1 millisecond, then the collector current will carry an audio signal if the received RF signal is audio modulated.
I would advise to check the older issues of ARRL Radio Amateur's Handbook, and look in QST magazine in the 1960s.
Good luck!
Don't use a super-regen Rx - not stable enough for this sort of application. I would go for a pulse counting type Rx (IF ~ DC!). A couple of things occur to me. One is the "on/off" switch that has to be actuated when the beacon is put into the water, a mercury tilt switch could be used so the beacon is stored upside down on the boat. The transmit/receive switch (push to talk?) has to disable the TX, switch the aerial to the RX and energise the RX. It would be better not to use relays, use a manual switch to save power. Also it could be better to operate the TX on something like 10 seconds on and 30 seconds off - saves power, perhaps even increasing the off time after an hour. . . Oh yes the PA must be bomb proof as the aerial insulator could (will?) be wet with sea water spray/rain etc.
Frank
