Spy conversation with laser from remote distance
时间:04-07
整理:3721RD
点击:
Some circuit design and expirience for spying with laser beam?
Base concept:
Laser beam detect oscilations in remote glass of window then signal amplifies and we hear remote conversation.
I have some circuits founded on Internet, but i interested for people with expirience on that field.
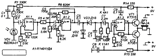
Some partial examples on that theme:
Base concept:
Laser beam detect oscilations in remote glass of window then signal amplifies and we hear remote conversation.
I have some circuits founded on Internet, but i interested for people with expirience on that field.
Some partial examples on that theme:








I would get in touch with the KGB as they have field use of such kit, using it on the American embassy in Moscow.
frank
Of course I found this nice toys on net for selling but price is somehow how to told "warm my ears". Of course russian toys.
I saw some of DIY on net, but noise is present, and I looking some expirience advice and suggestions.
To make clear, I'm not spy, just this is interested theme. I like things like that.
Probably fbi, cia, mia, kia is on the way to my house.
