数字化应用中的多核DSP
AD公司Blackfin系列
AD公司Blackfin系列采用双Blackfin内核(每个内核性能高达756MHz/1512 MMAC,总和达到3024 MMAC),适用於要求苛刻的数字成像和消费类多媒体应用;其328KByte的大片上存储器可以用作每个内核单独的L1存储器系统,以及共用的L2存储器空间。

图3 Blackfin系列双核DSP功能图
该处理器采用类RISC的寄存器和指令模式,易於编程和编译优化,同时具有先进的跟踪、调试和性能监测方式。Blackfin内核采用动态功耗管理技术,可以改变电压和频率,从而为便携式应用提供更长的待机时间,面向应用的外设提供了与多种音频/视频转换器和通用ADC/DAC的无缝连接。
Blackfin系列的主要应用包括∶数码相机、数码摄像机、便携式媒体播放机、数字视频录像机、机顶盒、消费类多媒体、汽车可视系统、宽带无线系统。
B、TI公司TMS320VC5441
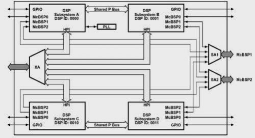
TI公司的TMS320VC5441浮点DSP内部集成了4个C54x核,每个核具有192KB的局部存储器、3个多通道缓冲串口、DMA、定时器等部件。每个子系统都具有独立的程式和数据空间,可以同时访问指令和数据。该DSP采用了很多并行访存指令,可以在一拍内完成2读1写操作,从而大大提高了并行性。片内共用512KB的程式存储器。
图4给出了该DSP的组成结构。

图4 TMS320VC5441功能图
C、飞思卡尔MSC8144
飞思卡尔半导体第三代多核DSP--MSC8144基於下一代SC3400 StarCore技术。这款DSP面向下一代有线和无线基础设施应用,提供语音、视频和数据服务,并带来领先的性能和低系统成本以及显著提高的通道密度。

图5飞思卡尔MSC8144功能图
MSC8144将4个频率为1GHz的StarCore DSP内核相集成,提供业界最高的千兆赫兹级性能,相当於1个4GHz单核DSP。它在单个产品中集成业界最高的10.5MB嵌入式存储器,实际上降低了对附加外部存储器的需求,同时保持具有竞争力的成本和每通道功耗。
MSC8144 DSP基於具有更深流水线的增强型SC3400 DSP内核,该内核能够提供很高的时钟速率,并增加了新的单指令多数据(SIMD)指令,提供精确的异常和分支预测。SC3400内核还支持适用於维特比(Viterbi)和视频演算法的经过改进的专用指令,每个内核周围都有高效的16KB指令缓存、32KB数据缓存,以及用於存储和任务保护的MMU(存储管理单元),使用户能够开发强大的软件。
飞思卡尔的CodeWarrior集成开发环境(IDE)包括高级优化C/C++编译程式、整合工具、周期和指令精确模拟器、设备驱动和操作系统。该工具箱还带有一整套硬体开发平台和参考板设计。同时,OEM还可以注册购买飞思卡尔及其第三方生态系统合作夥伴的优化多媒体编解码器和软件框架。
MSC8144 DSP的主要特性包括∶2个千兆乙太网介面,支援SGMII和RGMII,另外还有16位元UTOPIA介面,支援ATM;QUICC Engine技术实施了双RISC内核,可以降低DSP内核的通信任务负荷,从而增强整体系统性能;4X/1X Serial RapidIO介面,提供高吞吐量和强大数据包传输;2048 TDM DS-0通道,处理与PSTN网络的连接;10.5M内部存储器,提供业界最大的嵌入式存储器;高级DDR-I/II控制器,提供连接高速行业标准存储器的介面;66MHz的32位元PCI总线介面,提供更多的高速连接。
在有线基础设施应用方面,MSC8144提供了运营商级中继、企业VoIP媒体网关、视频会议服务器等众多应用的DSP解决方案。另外,MSC8144提供的无线应用包括∶无线语音代码转码,IP多媒体子系统(IMS)网关,视频多点会议,3G、Super 3G和WiMax基站的基带卡以及无线网络控制器(RNC)中的第2层处理。
(2)异构多核DSP
异构多核DSP是最常见的一类多核DSP,其中既包含DSP核,又包含用於控制的MCU(微控制器)核,从而充分发挥DSP的处理速度和MCU的控制功能。
单晶片并行MIMD(多指令多数据)DSP。其中集成了一个性能为100MFLOPS的32位RISC浮点CPU核、4个32位并行处理DSP、一个传输控制器(TC)、一个视频控制器(VC)。所有的处理器通过Crossbar进行耦合,共用50KB的片上RAM,每秒可以完成20亿次运算。该处理器主要面向军用领域。
这类DSP的典型代表。图6给出了最新推出的OMAP2420的组成结构。该处理器采用90nm工艺,集成了主频为330MHz的ARM1136核、TMS320C55x DSP核、2D/3D图形加速器、图像与视频加速器、共用存储控制器/DMA等,能够实现30帧每秒VGA解析度的全动态视频编解码。

图6 TI公司OMAP处理器的硬体结构
B、Cradle公司CT3616
DSP
- 基于TMS320F2812的数字化三相变频电源的研制(01-15)
- 一种实用的嵌入式Web服务器设计(01-15)
- Fieldbus会话数字化-从模拟通讯到数字通讯转变(12-19)
- 现场总线技术在数字化电厂中的应用(12-19)
- 数字化仪表系统的现场总线技术特点(12-19)
- 数字化仪表系统的现场总线控制探析(12-19)
