基于智能型电动执行器的设计方案
时间:12-25
来源:互联网
点击:
摘要:本文提出的一种基于智能型电动执行器的设计方案。方案通过采用Atmega128作为主控芯片以便满足系统需求和提高控制精度。本设计已完成整机装配,各个模块运行正常。已完成电动执行器各项功能,性能良好。各个模块采用的电路都很简单,使用的元器件也都很普通,但完全实现了电动执行器该有的功能。由于采用的电路简单使用的元器件便宜,所以大大降低了电动执行器的成本。
1.引言
1.1 电动执行器的发展
电动执行器,又称电动执行机构、电装、电动头,是一种自动控制领域的常用机电一体化设备,是自动化仪表终端三大组成部分(检测设备、调节设备和执行设备)中的执行设备,主要作用是对一些阀门、挡板等设备进行自动操作,控制其开关和调节,代替人工作业。
1.2 研究背景及意义
我国目前的电动执行器还以角行程、直行程和多转式这些传统的电动执行器为主,现有的执行器在使用时还会遇见各式各样的问题,需要专业的技术员去钻研改进,与国际水平相比还存在结构上简单,功能弱、智能化程度低等缺点。目前上海沃电、温州瑞基、温州澳托克、英国rotork等产品在市场上均有很强的影响力,但市场上销售的基本型电动执行器功能单一,而功能强大的执行器价格又很高,基于以上原因,本文讨论设计一台性价比高的智能电动执行器。
1.3 系统功能描述
本设计力求执行器在功能上齐全,在性能上稳定,在价格上便宜。
执行器具体功能:
(1)本地操作:本地点动操作;本地保持操作。
(2)远方操作:远方手动操作;远方自动操作。
(3)液晶界面显示:开度显示;状态显示;报警显示;菜单显示。
(4)数据保存:将用户设置后的数据存入单片机的EEPROM。
1.4 系统框图
系统总体框图如图1所示。

2.系统硬件电路设计
2.1 系统电源电路设计
本系统需要的电源主要有三种:
(1)+5V:用于CPU板卡供电
(2)+12V_D:用于换相继电器
(3)+12V_A:用于4-20mA电流产生
要将380V交流电变为直流首先要变压、整流、稳压,所以电源部分就会包括变压器、整流电路、稳压电路这三个部分。
整流电路:可采取最通用最可靠的桥式整流。
稳压电路:可使用ST公司的LM78XX系列三端稳压芯片。
2.2 380V电源鉴相电路设计
鉴相电路目的是想判别输入信号的相位差,将相位差转换成不同的信号以便后级使用。根据这一原则,首先输入信号要为方波,而本设计使用的380V正弦信号,所以第一步要做的就是将正弦信号转为方波。由于系统控制器采用的是单片机,其供电为5V直流信号,需要鉴相的信号是380V高压信号,为了避免在控制的时候收到高压信号的干扰,在电路设计时还要考虑前后级之间的隔离。在鉴别相序的时候采取软件来进行相序分析。本设计采用Atmega128单片机作为处理器,资源富裕完全有空间来完成鉴相功能,而且采取软件处理可以减少硬件电路的设计调试,也可减小最后PCB的面积。
鉴相前级采样电路由两部分组成:正弦信号变换为方波,电源隔离。
2.3 红外遥控发射电路设计
通用红外遥控系统由发射和接收两大部分组成。发射部分包括键盘、编码调制、LED红外发送器;接收部分包括LED红外接收器、光电放大器、解调和解码电路。
红外遥控系统框图如图2所示。

2.4 交流电机控制电路设计
交流电机控制电路如图3所示。
继电器驱动电路:
继电器驱动电路采取互锁的形式,防止电路在换相的时候出现短路的状况。继电器线圈上要加蓄流二极管,否则线圈中的电不能及时的放干净,在切换相序的时候也容易短路。二极管要选取开关速度快的肖特基二极管。继电器选型只要满足耐压和蓄流能力就可以了。

2.5 显示电路设计
液晶显示采用O12864SGD14CFNE型号,此种液晶体积小,但也是128X64个显示点,并且功耗低、驱动简单。
2.6 4-20mA电流产生电路设计
目前最普遍使用的电流产生原理是电压/电流转换即V/I转换,将输入的电压信号转换为具有一定关系的电流信号,通过转换的电流相当于一个输出可调的恒流源,其输出电流应能够保持稳定而不会随负载的变化而变化。
针对本设计来说使用PWM占空比来控制4-20mA电流输出,而且也减少了外围电路的设计,增强了系统的稳定性。
2.7 保护电路设计
鉴于电源电路存在一些不稳定因素,用来防止此类不稳定因素影响电路效果的回路称作保护电路。比如有过流保护、过压保护、过热保护、空载保护、短路保护等。
电机过流检测设计采用电流互感器来检测电流过载。在供电用电的线路中电流电压相差悬殊。线路上的电压都比较高如直接测量是非常危险的。电流互感器的作用就是变流和电气隔离。电流互感器原理其实就是电磁感应原理。
本电路使用的是380V交流电,所以用电流互感器来检测较为安全,经过电流互感器将大电流变为小电流然后在变换为电压,再送入单片机处理。
3.系统软件的设计
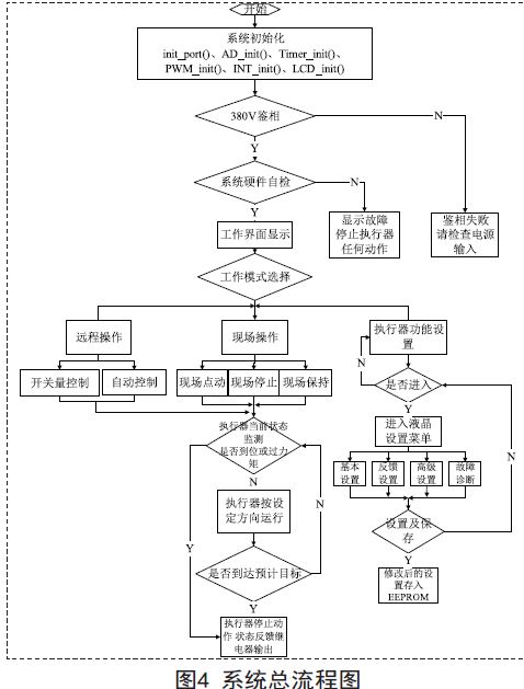
3.1 系统总体流程图
系统总体流程图如图4所示。
3.2 鉴相处理及电机控制
鉴相采集的原理其实很简单,380V交流电已由外部硬件电路转换为方波,单片机只需处理输入两路信号超前与滞后的关系就可以了,这里使用外部中断来捕捉外部输入的方波的信号。
电机控制包括正转、反转和停止,这里就需要换相和电源通电控制。
注意:一定要先进行换相然后再对电机通电,否则在电机动作的时候进行换相会发生短路的情况。

3.3 反馈及远程信号处理
反馈信号主要是检测电动执行器当前的运行状态,其中包括阀门开度反馈、开关到位、过力矩检测、过电流和过热反馈。
过流检测:通过互感器将电流变换为电压然后通过A/D转换后进行处理。
过热检测:通过热敏电阻检测,反馈回开关量。
过力矩检测:通过外部限位开关读取阀门过力矩信号,返回开关量。
开度采集:开度通过于转动阀门连接的电位器反馈信号,由A/D转换后送入单片机进行处理。
3.4 按键及红外遥控器信号处理
按键主要是用于执行器本地操作和远程切换操作,安装在执行器的外壳上,主要实现本地点动和本地保持动作。
此处要注意的是按键消抖采用定时器延时来做,不要使用等待延时,可以提高单片机的运行速度。
红外遥控器接收管连接到单片机的外部中断,当有信号的时候进入中断处理,可以提高遥控器的执行效率,处理的方法是将发送部分信号进行解码,软件处理是将发送的码字破译成二进制的0和1,由0和1组合成不同的字节即可破解遥控器按键。
3.5 液晶显示驱动软件设计
液晶显示部分显示的内容主要有三种,第一种是开度显示,第二种是电动执行器状态显示,第三种的设置菜单显示。
液晶驱动程序的液晶显示部分的基础,我们使用的液晶是不带字库的液晶,所以在使用的时候需要把要显示的字用取模软件转换成字模。液晶驱动采用串行数据模式,这样可以减少外部管脚的占用。
电路 自动化 单片机 继电器 电流 变压器 PCB 红外 LED 放大器 二极管 电压 PWM 电阻 相关文章:
- 一种新型防伪读码器的设计(01-01)
- 基于ARM与DSP的嵌入式运动控制器设计(04-25)
- 航天器DC/DC变换器的可靠性设计(02-12)
- 基于ARM核的AT75C220及其在指纹识别系统中的应用(05-24)
- 基于nRF2401智能小区无线抄表系统集中器设计(04-30)
- 卫星电源分系统可靠性设计与研究(02-12)
