基于DSP的多超声测距数据采集处理系统
时间:12-06
来源:互联网
点击:
介绍了自行设计的移动机器人CASIA-I中超声测距系统的软、硬件,以及超声测距数据与上位机通信的设计和实现过程。该系统以DSP—TMS320LP2407A作为核心处理器,以CAN总线为基础,实现了上述功能。经实验验证,测距范围为0.45m~3.5m,系统测距精度在0.7%以内,可以满足移动机器人室内导航的要求。
移动机器人要实现在未知和不确定环境下运行,必须具备自动导航和避障功能。在移动机器人的导航系统中,传感器起着举足轻重的作用。视觉、激光、红外、超声传感器等都在实际系统中得到了广泛的应用。其中,超声波传感器以其信息处理简单、速度快和价格低,被广泛用作移动机器人的测距传感器,以实现避障、定位、环境建模和导航等功能。
传统的轮式移动机器人超声数据采集系统大多采用单片机作为微处理器,以此来测量移动机器人到障碍物的距离,并将距离通过串口传输到上位机。采用这种设计,系统制作简单、成本低。但是,对于多超声传感器测距系统,如果仍采用单片机来完成测距任务,由于系统中超声传感器数量较多,为保证系统的实时性,就需要多个单片机才能完成数据采集,这使得采集系统不可避免地存在设计复杂和一些算法难以实现等缺陷。随着微电子工艺的发展,数字信号处理器(DSP)的应用领域已从通信行业拓展到工业控制领域。TI公司推出的TMS320LF2407A是专门针对控制领域应用的DSP,它具有高速信号处理和数字控制功能所必需
的体系结构,其指令执行速度高达40MIPS,且大部分的指令都可以在一个25ns的单周期内执行完毕。另外,它还具有非常强大的片内I/0端口和其它外围设备,可以简化外围电路设计,降低系统成本。正是基于这种思想,中国科学院自动化研究所在国家“863”计划的支持下,利用多DSP和嵌入式PCI04自行设计和研制了轮式移动机器人CASIA-I。本文着重介绍其超声数据采集系统,同时对通过CAN总线完成的超声数据与上位机通讯的原理和设计过程进行分析说明,并给出实验结果。
1 超声测距原理
超声测距的原理较简单,一般采用渡越时间法,即:
D=ct/2 (1)
其中D为移动机器人与被测障碍物之间的距离,c为声波在介质中的传输速率。声波在空气中传输速率为:

其中,T为绝对温度,c。=331.4m/s。在不要求测距精度很高的情况下,一般可以认为c为常数。渡越时间法主要是测量超声发射到超声返回的时间间隔t,即“渡越时间”,然后根据式(1)计算距离。
2 系统硬件设计
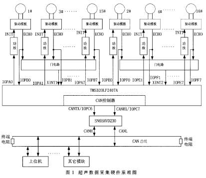
在距地面高度为45cm、相隔为22.5°的同一环上均匀分布着16个Polaroid生产的超声传感器,其编号为1#~16#(逆时针安排),超声传感器波束角为30°,超声传感器的最小作用距离为0.45m。超声数据采集板主要有两大模块:一是16路超声传感器的超声波发射和回波的接收模块,二是与上位机(机器人中央控制器)的CAN总线通讯模块。其硬件结构见图1。

TMS320LF2407A向I/0端口发出控制信号,启动内部定时器进行计时。此控制信号经功率放大后作为超声传感驱动电路的启动信号(1NIT),超声传感器产生的、遇到障碍物时返回的高频振荡信号经放大(为弥补传播过程中信号的衰减)使超声传感驱动电路的ECHO端产生高电平脉冲。ECHO电平变化经过门电路后引起TMS320LF2407A外部中断,在中断程序内获取定时器的计数值,根据式(1)计算距离;否则,认为传感器前方探测范围内无障碍物。
因为超声传感器之间的安装位置相差22.5°,而超声传感器的波束角为30°,如果超声波同时发射,必然会有干扰。如果采用轮循方式,即一个接一个地发射超声波,虽然可以消除串扰回波的影响,但是16个超声传感器轮循一次周期较长,降低了采集频率。为了在不降低采集频率的同时消除超声的相互干扰,本系统将16个超声传感器分成A(1#、3#、5#、7#、9#、11#、13#、15#)和B(2#、4#、6#、8#、10#、12#、14#、16#)两组,因为同一组内的两个超声传感器安装位置相差45°,通过计算可以知道,这种情况下超声传感器同时工作不会产生干扰,因而每一组里的超声传感器同时工作,组与组之间则采用轮循方式工作。这样既可以达到很高的采集频率,同时也满足了系统的实时性要求。每组8个超声传感器的ECHO端分别连接到一门电路,然后通过门电路连接DSP的XINTl和XINT2端。XINTl/2引脚电平发生跳变时会产生外部中断,通过I/0口可以知道是哪个或哪几个传感器引起中断。
TMS320LF2407A内部集成了CAN控制器,通过它可以方便地构成CAN控制局域网络。TMS320LF2407A的CANTX和CANRX接口与CAN收发器SN65HVD230相连,通过SN65HVD230连接CAN总线。SN65HVD230是TI公司生产的专门针对240X系列DSP内CAN控制器与物理总线
的接口。它的供电电压和TMS320LF2407A一样,仅为3.3V。由于CAN总线的数据通信具有突出的可靠性、实时性和灵活性,最高传输速率可达到1Mbps。超声采集板的数据能够快速、可靠地传给中央控制器。
移动机器人要实现在未知和不确定环境下运行,必须具备自动导航和避障功能。在移动机器人的导航系统中,传感器起着举足轻重的作用。视觉、激光、红外、超声传感器等都在实际系统中得到了广泛的应用。其中,超声波传感器以其信息处理简单、速度快和价格低,被广泛用作移动机器人的测距传感器,以实现避障、定位、环境建模和导航等功能。
传统的轮式移动机器人超声数据采集系统大多采用单片机作为微处理器,以此来测量移动机器人到障碍物的距离,并将距离通过串口传输到上位机。采用这种设计,系统制作简单、成本低。但是,对于多超声传感器测距系统,如果仍采用单片机来完成测距任务,由于系统中超声传感器数量较多,为保证系统的实时性,就需要多个单片机才能完成数据采集,这使得采集系统不可避免地存在设计复杂和一些算法难以实现等缺陷。随着微电子工艺的发展,数字信号处理器(DSP)的应用领域已从通信行业拓展到工业控制领域。TI公司推出的TMS320LF2407A是专门针对控制领域应用的DSP,它具有高速信号处理和数字控制功能所必需
的体系结构,其指令执行速度高达40MIPS,且大部分的指令都可以在一个25ns的单周期内执行完毕。另外,它还具有非常强大的片内I/0端口和其它外围设备,可以简化外围电路设计,降低系统成本。正是基于这种思想,中国科学院自动化研究所在国家“863”计划的支持下,利用多DSP和嵌入式PCI04自行设计和研制了轮式移动机器人CASIA-I。本文着重介绍其超声数据采集系统,同时对通过CAN总线完成的超声数据与上位机通讯的原理和设计过程进行分析说明,并给出实验结果。
1 超声测距原理
超声测距的原理较简单,一般采用渡越时间法,即:
D=ct/2 (1)
其中D为移动机器人与被测障碍物之间的距离,c为声波在介质中的传输速率。声波在空气中传输速率为:

其中,T为绝对温度,c。=331.4m/s。在不要求测距精度很高的情况下,一般可以认为c为常数。渡越时间法主要是测量超声发射到超声返回的时间间隔t,即“渡越时间”,然后根据式(1)计算距离。
2 系统硬件设计
在距地面高度为45cm、相隔为22.5°的同一环上均匀分布着16个Polaroid生产的超声传感器,其编号为1#~16#(逆时针安排),超声传感器波束角为30°,超声传感器的最小作用距离为0.45m。超声数据采集板主要有两大模块:一是16路超声传感器的超声波发射和回波的接收模块,二是与上位机(机器人中央控制器)的CAN总线通讯模块。其硬件结构见图1。

TMS320LF2407A向I/0端口发出控制信号,启动内部定时器进行计时。此控制信号经功率放大后作为超声传感驱动电路的启动信号(1NIT),超声传感器产生的、遇到障碍物时返回的高频振荡信号经放大(为弥补传播过程中信号的衰减)使超声传感驱动电路的ECHO端产生高电平脉冲。ECHO电平变化经过门电路后引起TMS320LF2407A外部中断,在中断程序内获取定时器的计数值,根据式(1)计算距离;否则,认为传感器前方探测范围内无障碍物。
因为超声传感器之间的安装位置相差22.5°,而超声传感器的波束角为30°,如果超声波同时发射,必然会有干扰。如果采用轮循方式,即一个接一个地发射超声波,虽然可以消除串扰回波的影响,但是16个超声传感器轮循一次周期较长,降低了采集频率。为了在不降低采集频率的同时消除超声的相互干扰,本系统将16个超声传感器分成A(1#、3#、5#、7#、9#、11#、13#、15#)和B(2#、4#、6#、8#、10#、12#、14#、16#)两组,因为同一组内的两个超声传感器安装位置相差45°,通过计算可以知道,这种情况下超声传感器同时工作不会产生干扰,因而每一组里的超声传感器同时工作,组与组之间则采用轮循方式工作。这样既可以达到很高的采集频率,同时也满足了系统的实时性要求。每组8个超声传感器的ECHO端分别连接到一门电路,然后通过门电路连接DSP的XINTl和XINT2端。XINTl/2引脚电平发生跳变时会产生外部中断,通过I/0口可以知道是哪个或哪几个传感器引起中断。
TMS320LF2407A内部集成了CAN控制器,通过它可以方便地构成CAN控制局域网络。TMS320LF2407A的CANTX和CANRX接口与CAN收发器SN65HVD230相连,通过SN65HVD230连接CAN总线。SN65HVD230是TI公司生产的专门针对240X系列DSP内CAN控制器与物理总线
的接口。它的供电电压和TMS320LF2407A一样,仅为3.3V。由于CAN总线的数据通信具有突出的可靠性、实时性和灵活性,最高传输速率可达到1Mbps。超声采集板的数据能够快速、可靠地传给中央控制器。
机器人 DSP 总线 传感器 红外 单片机 电子 MIPS 电路 自动化 嵌入式 CAN总线 收发器 电压 相关文章:
- 基于ARM与DSP的嵌入式运动控制器设计(04-25)
- 双目三维定位的视频运动检测控制系统设计(01-21)
- 光电鼠标传感器的精密测量与控制系统(04-13)
- 基于S7-200的步进电机控制器设计(04-26)
- 基于运动控制芯片的机械手控制系统设计(06-08)
- 嵌入式系统在军用PDA中的设计与实现(06-08)
