MSP430FW42X无磁传感器水表解决方案
时间:11-04
来源:互联网
点击:
MSP30FW42Xc 具有功耗低(静态电流小于 4 微安)、测量流量范围宽、精度高、稳定性和一致性好的特点,尤其在小流量下亦保持了很高的测量精度,同时丝毫不受各类水锈、杂质的影响,特别适合在水质较差的供热环境下长期使用而不影响测量精度。
一、单片机主要性能
MSP430FW42X 系列单片机是 TI 针对电子式流量与旋转运动检测最新开发的专用 MCU 芯片,它将超低功耗 MCU 、旋转扫描接口( Scan IF )和液晶显示 LCD 驱动模块完美地结合为一体,该器件的超低功耗结构和流量检测模块不仅延长了电池的寿命,同时还提高了仪表的精度与性能。
MSP430FW42X 除了完全兼容现有 MSP 430F 41x 产品外,还具有以下主要特性:
应用于水、热和气体仪表的流量测量的 Scan IF 单元;
高达 96 段的集成 LCD 驱动程序;
掉电保护功能与电源电压监控器;
两个多通道脉宽调制计时器;
可实现模数转换的通用模拟比较器 _A 。
二、 系统组成
使用 MSP430FW42X 开发的水表、热量表,系统直接采用内部流量扫描模块( Scan IF )不需要外部流量检测 IC ,直接取代 TMS3723B ,大大简化了系统硬件设计和软件设计,并且提高了系统的稳定性。使用 MSP430FW42X 开发的无磁水表系统框图如下:

图 1 系统原理框图

图 2 实物照片图
三、测量原理
本方案通过把流体流动转换为旋转运动实现对流体流量的检测。采用附有金属膜的叶轮实现这种转换,管道中的流体推动叶轮的不断旋转,其转速直接决定于流体的流速。此机械转动信号经无磁非接触式传感器将其转化为电信号送至微控制器的 SCAN IF 模块, SCAN IF 模块计算出 转动(流体流量)和它的方向。
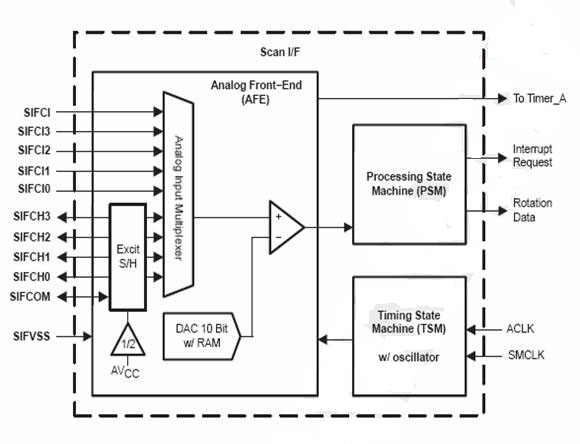
四、 SCAN IF 模块 介绍
SCAN IF 模块能够在低功耗下自动检测线性或旋转的运动。 SCAN IF 模块由三部分组成:模拟前端 (AFE) 、信号处理状态机 (PSM) 、定时状态机 (TSM) 。其中模拟前端的主要元器件是一个“ VCC/ 2 ” 发生器,一个比较器和一个10 位 DAC。模拟前端用来激励传感器,检测信号电平并把信号转换为数字形式;这些数字信号进入信号处理状态机,信号处理状态机 计算出转动(流体流量)和它的方向 ;定时状态机用来控制模拟前端和信号处理状态机。

图 3 SCAN IF 模块框图
五、主要功能
1 、用水量计量
总用水量、当月用水量计量;
存储上 12 个月的历史用水量;
2 、时间管理
具有日历、计时和闰年自动切换功能;
日历、时间设置有防止非授权人操作的措施;
3 、事件记录
水量记录
上次购水的时间和购水量、总用水量、剩余水量、上 12 个月的历史用水量
电池管理
电池欠压记录和提示
人为破坏记录
拆表记录
4 、显示
显示水表的累计流量、剩余水量、本次购水量及水表阀门状态、电池状态等相关信息;
显示顺序及显示间隔时间可预置;
报警及错误信息提示;
5 、通讯接口
可在下面三种方式中任选一种。
IC 卡
射频卡
M_BUS 远传
6 、按键操作
根据用户基表及表壳决定,可设置显示按键。
一、单片机主要性能
MSP430FW42X 系列单片机是 TI 针对电子式流量与旋转运动检测最新开发的专用 MCU 芯片,它将超低功耗 MCU 、旋转扫描接口( Scan IF )和液晶显示 LCD 驱动模块完美地结合为一体,该器件的超低功耗结构和流量检测模块不仅延长了电池的寿命,同时还提高了仪表的精度与性能。
MSP430FW42X 除了完全兼容现有 MSP 430F 41x 产品外,还具有以下主要特性:
应用于水、热和气体仪表的流量测量的 Scan IF 单元;
高达 96 段的集成 LCD 驱动程序;
掉电保护功能与电源电压监控器;
两个多通道脉宽调制计时器;
可实现模数转换的通用模拟比较器 _A 。
二、 系统组成
使用 MSP430FW42X 开发的水表、热量表,系统直接采用内部流量扫描模块( Scan IF )不需要外部流量检测 IC ,直接取代 TMS3723B ,大大简化了系统硬件设计和软件设计,并且提高了系统的稳定性。使用 MSP430FW42X 开发的无磁水表系统框图如下:

图 1 系统原理框图

图 2 实物照片图
三、测量原理
本方案通过把流体流动转换为旋转运动实现对流体流量的检测。采用附有金属膜的叶轮实现这种转换,管道中的流体推动叶轮的不断旋转,其转速直接决定于流体的流速。此机械转动信号经无磁非接触式传感器将其转化为电信号送至微控制器的 SCAN IF 模块, SCAN IF 模块计算出 转动(流体流量)和它的方向。
四、 SCAN IF 模块 介绍
SCAN IF 模块能够在低功耗下自动检测线性或旋转的运动。 SCAN IF 模块由三部分组成:模拟前端 (AFE) 、信号处理状态机 (PSM) 、定时状态机 (TSM) 。其中模拟前端的主要元器件是一个“ VCC/ 2 ” 发生器,一个比较器和一个10 位 DAC。模拟前端用来激励传感器,检测信号电平并把信号转换为数字形式;这些数字信号进入信号处理状态机,信号处理状态机 计算出转动(流体流量)和它的方向 ;定时状态机用来控制模拟前端和信号处理状态机。

图 3 SCAN IF 模块框图
五、主要功能
1 、用水量计量
总用水量、当月用水量计量;
存储上 12 个月的历史用水量;
2 、时间管理
具有日历、计时和闰年自动切换功能;
日历、时间设置有防止非授权人操作的措施;
3 、事件记录
水量记录
上次购水的时间和购水量、总用水量、剩余水量、上 12 个月的历史用水量
电池管理
电池欠压记录和提示
人为破坏记录
拆表记录
4 、显示
显示水表的累计流量、剩余水量、本次购水量及水表阀门状态、电池状态等相关信息;
显示顺序及显示间隔时间可预置;
报警及错误信息提示;
5 、通讯接口
可在下面三种方式中任选一种。
IC 卡
射频卡
M_BUS 远传
6 、按键操作
根据用户基表及表壳决定,可设置显示按键。
电流 单片机 MSP430 电子 MCU LCD 电压 比较器 传感器 模拟前端 DAC 射频 相关文章:
- 航天器DC/DC变换器的可靠性设计(02-12)
- 基于nRF2401智能小区无线抄表系统集中器设计(04-30)
- 卫星电源分系统可靠性设计与研究(02-12)
- 采用信号调理IC驱动应变片电桥传感器(05-26)
- 解密波音747飞机中的Sperry垂直陀螺仪(05-06)
- 安森美90W太阳能LED街灯高能效解决方案(05-18)
