用单片机实现DTMF信号译码
时间:10-24
来源:互联网
点击:
4、重点参数的选取
为了能更好的确保用单片机实现DTMF信号译码,避免出现错译和漏译现象,在软件设计时,采样点数N,采样时间间隔T,谱线系数K,是至关重要的参数,它们的选取应遵循以下原则:
(1)N×T尽可能接近信号周期的整数倍。
(2)通过增大N×T,可有效提高分辨率,但N增大会导致运算量增大,且N一般应满足N=2n,增大T时,一定需注意满足香农定理。
(3)K=f×N×T
表4为推荐的参数选择表。
5、DTMF信号译码应用程序设计
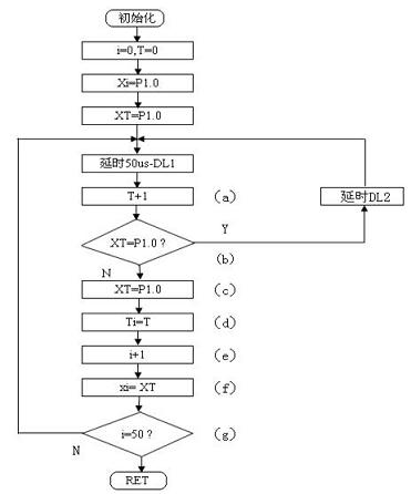
5.1 DTMF信号译码记录子程序流程图
图中DL1为运行a、b、c、d、e、f、g所需时间,DL2为运行c、d、e、f、g所需时间。
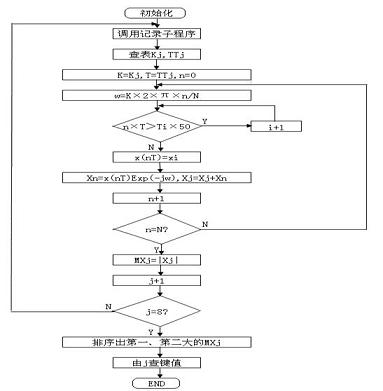
4.2 DTMF信号译码主流程图
6、结论
通过对DTMF信号译码算法的探讨和计算机仿真实验检测数据论证,认为完全可使用单片机来进行DTMF信号的译码,并且效果能达到设计要求。从而可省去成套译码电路,又能达到简化电路降低成本的目的。
为了能更好的确保用单片机实现DTMF信号译码,避免出现错译和漏译现象,在软件设计时,采样点数N,采样时间间隔T,谱线系数K,是至关重要的参数,它们的选取应遵循以下原则:
(1)N×T尽可能接近信号周期的整数倍。
(2)通过增大N×T,可有效提高分辨率,但N增大会导致运算量增大,且N一般应满足N=2n,增大T时,一定需注意满足香农定理。
(3)K=f×N×T
表4为推荐的参数选择表。
表4 推荐的参数选择表

5、DTMF信号译码应用程序设计
5.1 DTMF信号译码记录子程序流程图
图中DL1为运行a、b、c、d、e、f、g所需时间,DL2为运行c、d、e、f、g所需时间。

图3 记录子程序流程图
4.2 DTMF信号译码主流程图

图4 DTMF信号译码算法主流程图
6、结论
通过对DTMF信号译码算法的探讨和计算机仿真实验检测数据论证,认为完全可使用单片机来进行DTMF信号的译码,并且效果能达到设计要求。从而可省去成套译码电路,又能达到简化电路降低成本的目的。
- 基于P89C61x2/ISP1581的USB接口电路的设计(02-13)
- 行波管关断方式对应用系统可靠性的影响(06-24)
- 基于VME总线的RDC接口电路设计(06-29)
- 单芯片集成电路优化自适应转向大灯系统的设计 (07-12)
- 单片机应用系统的抗干扰技术(08-07)
- 基于FPGA的线阵CCD驱动器设计(11-26)
