典型高效视力检测系统设计
式选择以及判断方向均通过键盘输入部分来实现,微型打印机则做为未来扩展的一个外设,用来打印最终结果。

图2 系统硬件结构框图
2.2 SPCE3200单片机系统的特点及功能
SPCE3200单片机系统拥有基于S+Core架构32位处理器SPCE3200,拥有S+Core7内核,内部集成了MPEC-4的硬件编解码、TV 解码接口、TFT、SPI\UART\I2C\SPI标准串口、USB、SD卡等多种外设接口,扩展方便,适用于PDA、便携媒体播放器、监控器、机器人等设备的开发。因此,该系统最大的特点是具有较强的多媒体处理能力。
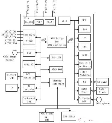
其具体特性如下:工作电压:I/O端口的VDD 3.0~3.6 V.CPU内核的VDD为1.62~1.98V;CPU工作频率:27~162MHz;SDDRAM最大容量可达16 MB;具有32位/16位的SDRAM数据总线;可编程选择颜色模式4/16/64/256/32768/65536;共6个16位CCP定时/计数器(具可编程自动重载功能);提供40个中断源,分别为定时器、时基、外部输入以及键唤醒等;支持键唤醒功能;USB功能:支持USB1.1主机或USB1.1外设;UART功能;具有通用异步接收机和发送机;提供串行外围设备接口(SPI),具主/从模式;提供Sunplus串行输入,输出接口(SIO);内置Watchdog功能;提供LCD接口,具TFT方式/CSTN方式;支持CCIR-601/656 CMOS影像传感器/TVE控制接口;支持SD卡和NAND型Flash,用于海量数据存储。图3为SPCE3200的结构框图。

图3 SPCE3200结构框图
2.3 图像显示及按键输入模组介绍
TFT-LCD中文全称为薄膜场效应晶体管液晶显示器,是有源矩阵类型液晶显示器(AM-LCD)中的一种,是在目前唯一在亮度、对比度、功耗、寿命、体轵和重量等综合性能上全面赶超CRT的显示器件,拥有性能优良、大规模生产特性好、自动化程度高、原材料成本低廉、发展空间广阔等优良特点。
而本系统所选用的TFT-LCD图像显示模块是内置于SPCE3200系统中的,拥有多种输入格式下的接口控制;该LCD显示屏大小为5.7寸,支持色彩65536色、分辨率为640(水平像素)x480(垂直像素)的图像显示。
该模块组拥有良好的显示效果,完全能满足我们仪器的设计要求;采用开放的SPCE3200接口连接,使实验测试方便可靠。同时,在main主程序中集成了对图像进行操作的TFT函数集,可以方便快速地对信号中图像位置及宽度等信息进行调试。
按健输入模块则利用了SPCE3200系统自带的4x4阵列式按键,初步定义使用6个按键,并通过Key.h对测试过程中所需的方向键、开始键及结束键来进行定义,图4为阵列式按键的电路图。

图4 阵列式按键的电路图
3 系统软件设计
本系统为达到设想的工作目标,根据各部分功能需求对软件控制程序进行了设计,程序主要是用于指令控制和方向判断。本系统的软件设计包括以下几个程序模块:
1)main主程序函数模块对整个程序部分进行控制并根据需要调用各个子函数(如:TFT_PutPicture、show_PIC、Key_Show函数等),是一个循环函数。主函数作用是总体协调各个模块。实现系统各函数间合理有序的配合,完成测试所需的目的。
2)TFT_PutPicture子程序函数模块对显示图像进行控制,控制图片在屏中显示的内容、位置、大小及分辨率等信息。
3)show_PIC子程序函数模块在测试进行中,该函数会得到一个随机数,并由此随机数来通知TFT_PutPieutre函数,调用所需图像并将其显示在LCD显示器上,提供给测试者进行实验。
4)Key_Scan子程序函数模块 该函数会对测试中所用到的按健进行设置,对程序中所使用的每个键都会给出一个赋值,并提供给main主程序,使主程序可以通过按健赋值对测试者进行操作和方向选择进行判断,最终达到控制实验过程的目的。
其中编译后的主要控制程序如下(节选):

4 结束语
经实际测试试验,该系统的工作性能稳定,系统响应速度快,图像显示效果良好,经过本系统测试出的视力结果判断准确,最终各项功能都能够满足实际的需要。
随着人们对健康问题的越来越关注,对自身视力重视程度也会越来越在意。因此,对小型化、简洁化的自主视方检测系统的要求呼之欲出。本项目基于SPCE3200的自主视力检测系统即提供一个良好的解决方法,弥补了传统视力检测方面的不足,且系统使用简单、性能稳定、便于推广,具有一定的社会价值和市场前景。
- 基于SPCE3200的自主视力检测系统设计(05-25)
