RF Transmitter receiver and encoder decoder IC
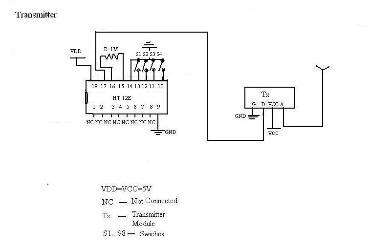
I am looking for your advice as to what frequency would be better. I need a range of about 50 meters. And most importantly do you think that the schematic will work. It is a widely availbe schematic on the net.
The problem I am facing is that those parts are not available in my country(Bangladesh). I am looking forward to buy them from India. So can any one of you tell where I might find these parts in Kolkata preferebly (need an adress or email). Your help would be very much appreciated.


For the said range the any of the modules with any mentioned frequency will work fine. yes...the circuit will work but HT12 is a 4 channel encoder/decoder with 8 bit addressing. For using it for 10 channel, you have to use 3 identical transmitter and receiver pairs with different address settings. Cheers
Thank you for that help. Now could any just help me out on where i could get the parts in kolkata or bangalore. I cant get them in my country but can arrange to get it from there. .............
You may contact the below dealer to get the HT12's and the RF modules.
M/s Sunrise Electronics
No 67. Kartik Plaza,
S.P.Road, Bangalore 560002
Ph: 080 41243027
sunriseelectronics@gmail.com
Cheers
