how to choose multiple substrates of patch for maximum band width at 10GHz
时间:04-06
整理:3721RD
点击:
hi, first let me thank you for every one for good threads. its been very useful for my project
i have problem with increasing band width of patch
i am getting 800MHz at 10GHz(8% fractional BW) by E shape
i want to increase to 15 to 20 percent. is it possible
h=1.5,er=2.2
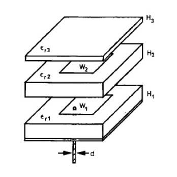
please suggest me how to choose multiple layers to increase BW.
-STACKED MICROSTRIP PATCH ANTENNAS https://www.edaboard.com/thread214935.html
i have problem with increasing band width of patch
i am getting 800MHz at 10GHz(8% fractional BW) by E shape
i want to increase to 15 to 20 percent. is it possible
h=1.5,er=2.2
please suggest me how to choose multiple layers to increase BW.
THere may be considerable phase shift thru this wide dual bands and not possible.
I assume you have done something like this already http://goo.gl/z7bxP
The BW of a resonant patch antenna tends to increase with dielectric thickness.
Hello.
The bandwidth of microstrip patch can be increased by using of coupled resonators (patches):
-APERTURE COUPLED MICROSTRIP ANTENNAS;

-STACKED MICROSTRIP PATCH ANTENNAS https://www.edaboard.com/thread214935.html

you can simply increase the BW by working on ground plane also.
substrates patch choose 相关文章:
