S9000/R150系统在顺酐装置上的应用
时间:07-31
来源:互联网
点击:
1 工艺简介
顺酐(C4H2O3)全称顺丁烯二酸酐,是一种重要的基本有机化工原料,广泛用于农药、医药、合成树脂等工业领域,主要采用苯氧化法生产。
苯氧化法生产的基本原理是:苯蒸气和空气(或氧气)在催化剂上气相催化氧化生成顺酐。该反应是一个由平行——连串反应组成的强放热反应过程,其化学反应方程式为:

苏州合成化工厂4000t/a顺酐生产工艺流程如图1所示,整个工艺过程包括氧化工序、洗涤工序、精馏工序、蒸汽热水系统和造粒包装工序五个部分。
原料苯和预热后的空气以一定的比例混合后,进入装有催化剂的列管式固定床反应器的顶部,苯氧化生成顺酐,同时放出大量反应热,反应生成气经冷却后,约60%的顺酐在后冷器中冷凝,经分离后送粗酐贮罐等待进一步处理。未分离的含顺酐气体送洗涤塔用工艺水吸收,生成顺酸进入顺酸槽,供后工序精制,尾气排空。精馏塔间隙操作,分批将产品脱水精制。先将邻二甲苯(O-X)灌入精馏塔,再将顺酸送进精馏塔,用邻二甲苯作共沸剂,共沸精馏,脱除水分,再脱邻二甲苯,最后精制顺酐,去掉头尾组分,取中间的顺酐作为合格产品。液态顺酐送成型机制成颗粒状固体产品,经称量包装作为最终产品。

根据生产工艺要求,整个顺酐生产过程的输入/输出信号点数为304点,具体分布见表1。
2 DCS系统组成
顺酐生产过程的DCS系统采用了美国HONEYWELL.htm" target="_blank" title="Honeywell货源和PDF资料">Honeywell公司的S9000/R150系统,并下挂udc3000单回路控制器的总体结构方案。
HONEYWELL公司推出的R150版DCS是建立在S9000控制器、620逻辑控制器和PC486监控站平台之上的模块化开放式系统,它采用国际标准的以太网通讯(MASnet),并在Windows环境下为用户提供了有效而方便的监控手段,集回路、逻辑控制于一体,增强了绘图、显示、趋势、报警和报表等多种监控功能,使组态更方便,使用操作更灵活。

系统选用三台Intel 586工控机作监控站,除具备编程、组态、系统生成功能外,还具备了操作站的所有操作及显示功能。其中1#监控站主要监控氧化、洗涤工序,2#监控站主要监控精馏工序,3#监控站主要监控蒸汽热水、包装工序,三个监控站之间采用以太网通讯,互为热备。此外,系统还配备了一台打印机,定时或随机打印各种报表、图形和报警信息。
系统控制站选用了S9000中的9100e型控制器,它具有32个PID回路控制,640点I/O能力。鉴于每台9100e控制器最大模拟量输入为96点,所以系统选配了两台9100e控制器以及相应的I/O扩展箱,其中一台用于氧化和洗涤工序的数据采集和控制,另一台用于精馏、蒸汽热水和包装工序的数据采集和控制。监控站和控制站之间采用标准的以太网通讯,通讯速率可达10Mbps,DCS系统的总体结构如图2所示。
为了保证生产过程的安全可靠,系统除了所有的回路输出均配有手操器外,对生产过程中的重要控制回路采用了udc3000单回路控制器作热备。一旦S9000系统发生故障,可用udc3000进行自动控制或用手操器操作,避免停车。此外,通过组态相应的软件,实现了DCS系统对氧化反应器、精馏塔等重要设备的安全联锁保护功能。
3 DCS系统软件开发
针对顺酐生产过程所开发的控制系统应用软件主要由控制组态软件和监控组态软件两大部分组成,其中控制组态软件主要包括连续控制图(CCC图)和梯形逻辑图(RLL图),监控组态软件包括生产流程图、控制回路图、历史趋势图、报警系统图和参数报表等。操作画面为全中文显示。
CCC图采用图形方式组态PID回路的调节、数据的采集和运算,提供了回路调节、设定点程序/处方、梯形逻辑、算式运算、常用计算辅助功能、布尔运算和记录仪等九大类50多种功能模块。每种模块完成一定的控制与计算功能,通过组态相应的模块和块参数,系统可将控制方案组态成相应的控制软件,下装至控制器中,自动生成实时数据库,供生产流程图、控制回路图、历史趋势图、报警系统图及参数报表等监控画面调用。

顺酐生产过程按工艺要求设置了23个控制回路,其中温度控制回路9个,液位控制回路3个,压力控制回路6个,流量控制回路5个。为使氧化反应正常进行,要求严格控制反应器的热点温度和盐点温度,而稳定热点温度的手段是调节进入反应器的苯和空气的比例,工艺要求苯和空气的比值为1/24,通过测量空气流量来调节苯流量,组成一个单闭环比值控制系统,图3为苯流量单闭环比值控制组态图。图中,空气流量信号通过质量流量模块MSF进行温度和压力校正,校正后的流量信号通过除法器作为苯流量的设定值。在PID2模块中,若输出跟踪有效信号OTC=1,即手操器处于手动位置,则PID算法被抑制,模块输出为OTV值(即跟踪手操器的输出值);否则OTC=0,即手操器处于自动位置,模块输出为PID的运算结果,这样可实现系统自动和手动的无扰切换。实际运行结果表明,当空气流量达到21600kg/h时,苯流量为900±10kg/h,具有较好的稳定性,满足了生产要求。
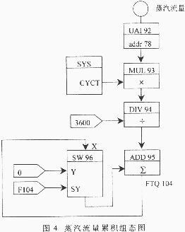
此外,整个生产过程还根据工艺要求设置了蒸汽流量、顺酸采出量和苯流量3个需经济考核的流量累积指标。由于没有配置流量积算仪和脉冲输入模块,流量累积只能通过组态有关算法模块实现。图4为蒸汽流量累积组态图,通过蒸汽流量输出模块UAI、系统模块SYS中的CYCT系统循环周期、乘法器MUL、除法器div将瞬时流量换算为累计流量,加法器ADD完成蒸汽流量的累积并输出。切换开关SW模块中,若操作员点击“清零”按钮,则SY=1(F104=1),模块输出为Y=0,加法器模块累加值清零,完成“清零”功能,否则继续累积。
顺酐(C4H2O3)全称顺丁烯二酸酐,是一种重要的基本有机化工原料,广泛用于农药、医药、合成树脂等工业领域,主要采用苯氧化法生产。
苯氧化法生产的基本原理是:苯蒸气和空气(或氧气)在催化剂上气相催化氧化生成顺酐。该反应是一个由平行——连串反应组成的强放热反应过程,其化学反应方程式为:

苏州合成化工厂4000t/a顺酐生产工艺流程如图1所示,整个工艺过程包括氧化工序、洗涤工序、精馏工序、蒸汽热水系统和造粒包装工序五个部分。
原料苯和预热后的空气以一定的比例混合后,进入装有催化剂的列管式固定床反应器的顶部,苯氧化生成顺酐,同时放出大量反应热,反应生成气经冷却后,约60%的顺酐在后冷器中冷凝,经分离后送粗酐贮罐等待进一步处理。未分离的含顺酐气体送洗涤塔用工艺水吸收,生成顺酸进入顺酸槽,供后工序精制,尾气排空。精馏塔间隙操作,分批将产品脱水精制。先将邻二甲苯(O-X)灌入精馏塔,再将顺酸送进精馏塔,用邻二甲苯作共沸剂,共沸精馏,脱除水分,再脱邻二甲苯,最后精制顺酐,去掉头尾组分,取中间的顺酐作为合格产品。液态顺酐送成型机制成颗粒状固体产品,经称量包装作为最终产品。

根据生产工艺要求,整个顺酐生产过程的输入/输出信号点数为304点,具体分布见表1。
2 DCS系统组成
顺酐生产过程的DCS系统采用了美国HONEYWELL.htm" target="_blank" title="Honeywell货源和PDF资料">Honeywell公司的S9000/R150系统,并下挂udc3000单回路控制器的总体结构方案。
HONEYWELL公司推出的R150版DCS是建立在S9000控制器、620逻辑控制器和PC486监控站平台之上的模块化开放式系统,它采用国际标准的以太网通讯(MASnet),并在Windows环境下为用户提供了有效而方便的监控手段,集回路、逻辑控制于一体,增强了绘图、显示、趋势、报警和报表等多种监控功能,使组态更方便,使用操作更灵活。

系统选用三台Intel 586工控机作监控站,除具备编程、组态、系统生成功能外,还具备了操作站的所有操作及显示功能。其中1#监控站主要监控氧化、洗涤工序,2#监控站主要监控精馏工序,3#监控站主要监控蒸汽热水、包装工序,三个监控站之间采用以太网通讯,互为热备。此外,系统还配备了一台打印机,定时或随机打印各种报表、图形和报警信息。
系统控制站选用了S9000中的9100e型控制器,它具有32个PID回路控制,640点I/O能力。鉴于每台9100e控制器最大模拟量输入为96点,所以系统选配了两台9100e控制器以及相应的I/O扩展箱,其中一台用于氧化和洗涤工序的数据采集和控制,另一台用于精馏、蒸汽热水和包装工序的数据采集和控制。监控站和控制站之间采用标准的以太网通讯,通讯速率可达10Mbps,DCS系统的总体结构如图2所示。
为了保证生产过程的安全可靠,系统除了所有的回路输出均配有手操器外,对生产过程中的重要控制回路采用了udc3000单回路控制器作热备。一旦S9000系统发生故障,可用udc3000进行自动控制或用手操器操作,避免停车。此外,通过组态相应的软件,实现了DCS系统对氧化反应器、精馏塔等重要设备的安全联锁保护功能。
3 DCS系统软件开发
针对顺酐生产过程所开发的控制系统应用软件主要由控制组态软件和监控组态软件两大部分组成,其中控制组态软件主要包括连续控制图(CCC图)和梯形逻辑图(RLL图),监控组态软件包括生产流程图、控制回路图、历史趋势图、报警系统图和参数报表等。操作画面为全中文显示。
CCC图采用图形方式组态PID回路的调节、数据的采集和运算,提供了回路调节、设定点程序/处方、梯形逻辑、算式运算、常用计算辅助功能、布尔运算和记录仪等九大类50多种功能模块。每种模块完成一定的控制与计算功能,通过组态相应的模块和块参数,系统可将控制方案组态成相应的控制软件,下装至控制器中,自动生成实时数据库,供生产流程图、控制回路图、历史趋势图、报警系统图及参数报表等监控画面调用。

顺酐生产过程按工艺要求设置了23个控制回路,其中温度控制回路9个,液位控制回路3个,压力控制回路6个,流量控制回路5个。为使氧化反应正常进行,要求严格控制反应器的热点温度和盐点温度,而稳定热点温度的手段是调节进入反应器的苯和空气的比例,工艺要求苯和空气的比值为1/24,通过测量空气流量来调节苯流量,组成一个单闭环比值控制系统,图3为苯流量单闭环比值控制组态图。图中,空气流量信号通过质量流量模块MSF进行温度和压力校正,校正后的流量信号通过除法器作为苯流量的设定值。在PID2模块中,若输出跟踪有效信号OTC=1,即手操器处于手动位置,则PID算法被抑制,模块输出为OTV值(即跟踪手操器的输出值);否则OTC=0,即手操器处于自动位置,模块输出为PID的运算结果,这样可实现系统自动和手动的无扰切换。实际运行结果表明,当空气流量达到21600kg/h时,苯流量为900±10kg/h,具有较好的稳定性,满足了生产要求。
此外,整个生产过程还根据工艺要求设置了蒸汽流量、顺酸采出量和苯流量3个需经济考核的流量累积指标。由于没有配置流量积算仪和脉冲输入模块,流量累积只能通过组态有关算法模块实现。图4为蒸汽流量累积组态图,通过蒸汽流量输出模块UAI、系统模块SYS中的CYCT系统循环周期、乘法器MUL、除法器div将瞬时流量换算为累计流量,加法器ADD完成蒸汽流量的累积并输出。切换开关SW模块中,若操作员点击“清零”按钮,则SY=1(F104=1),模块输出为Y=0,加法器模块累加值清零,完成“清零”功能,否则继续累积。
- 一种新型防伪读码器的设计(01-01)
- 基于ARM与DSP的嵌入式运动控制器设计(04-25)
- 多核及虚拟化技术在工业和安全领域的应用(05-23)
- 航天器DC/DC变换器的可靠性设计(02-12)
- 我国科学家人脸与笔迹识别领域获突破(04-29)
- 基于ARM核的AT75C220及其在指纹识别系统中的应用(05-24)
