嵌入式MPEG-2图像压缩编码系统
时间:07-01
来源:互联网
点击:
图像实时监控设备有模拟和数字两类。数字监控设备由于便于压缩、存储、传输,在近年来逐渐替代了模拟监控设备。数字监控设备的核心技术在于图像压缩编码设备,目前成熟的实时数字图像编码器基本上基于MPEG-1压缩标准,且大多数为PCI接口。就MPEG-1而言,当初专家组制定时规定的原始图像分辨率较低,NTSC:352×240,PAL:253×288,解码后其质量与VHS相当,在很多场合已经不能满足系统的需要。MPEG-2压缩标准规定的图像分辨率相对高得多,NTSC:704×480,PAL:704×576。对于基于PCI接口的压缩板卡而言,实施的复杂性是显而易见的,必须借助计算机才能实现其功能,这种应用有时会受制于现场环境,而且对系统的成本和可靠性也大为不利。随着技术的日益发展,一方面,很多公司推出了基于MPEG-2M压缩标准的单片Codec,如IBM、C-Cube、iCompression、Fujitsu;另一方面,随着嵌入式微处理器和OS的发展,嵌入式系统也具有了强大的处理功能,如网络通信、图像处理等。在这种背景下设计了以下的嵌入式图像压缩系统。
1 系统框架
系统主体框图如图1,主要分两部分:一部分以Fujitsu的MB86390芯片为主实现图像实时压缩编码。该部分输入模拟视频、音频,经过视频A/D芯片SAA7113、音频A/D芯片PCM1800数字化后送至MB86390实现MPEG-2压缩,输出TS传输流,并且提供串行通信总线与MPC860T完成通信。另一部分是以MPC860T为主的通信电路设计,主要实现与MB86390输出的TS传输流的接口,完成TS传输流在快速以太网上的传送,与视频服务器的通信,提供通信口实现与MB86390芯片通信和对云台的控制。
2 图像压缩部分设计
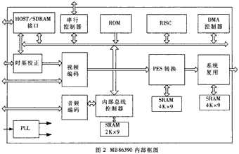
2.1 MB86390编码器的介绍
该芯片框图如图2。该芯片内嵌32BITrisc处理器,主要完成实时压缩编码,在片内实现Mpeg2 MP@ML级视频编码,遵循ISO/IEC13818-2标准,最大编码速率达15Mbps;实现Mpeg Layer1/2音频编码,遵循ISO/IEC11172-3标准,最大编码速率达448kbps;同时遵循ISO/IEC13818-1标准实现系统数据复用,能输出PES、PS、TS流可选,并能根据系统所提供的带宽输出最大速率20Mbps。数字化后视频输入数据为8位,可以为D1格式或者Y/C复用输入格式。音频的取样率支持32kHz、44.1kHz和48kHz可选。码流输出通过8位并口,可同步或者异步握手输出,或通过DMA方式传送至SDRAM。该芯片还提供了丰富的API接口,可以对许多参数进行设置,如视频输入格式、音频采样率、编码后的各种PID、平均码率等。
2.2 电路设计
该部分电路主要完成 MB86390与视音频A/D的连接。MB86390基本上能与大多数芯片直接联接。在本设计中,选用SAA7113作为视频A/D。由于MB86390为其提供I2C总线接口,而且其初始化等操作能通过MB86390完成,相应的连线也比较方便;对于MB86390与音频A/D接口可以通过主从两种方式实现,即由MB86390提供数据与左右声道接口时钟,或者由音频A/D来提供。但是必须注意系统编码的时钟必须与接口数据时钟同步,在这里使用TI公司的PLL1705锁相环实现时钟同步。图3给出了这部分信号连接的电路。
3 接口通信部分设计
3.1 MPC860T网络通信处理器介绍
MPC860是Motorola公司继MC68360后推出的新一代通信处理器,内部包括三部分:PowerPC core模块、系统接口单元模块(SIU)、通信处理模块(CPM)。PowerPC是主处理单元,包括Cache和内存管理单元,在40MHz时钟下能达到52MIPS的处理能力。系统接口单元主要完成内部总线与外部总线的接口,也提供一些其它功能,如总线检测、软件看门狗、多个定时器、PCMCIA接口等。通信处理模块是该芯片的核心,其内部还嵌入了一个RISC。因而MPC860从某种意义上说,是一种双处理器结构。该模块集成了4个串行通信控制器(SCC)、2个串行管理单元(SMC)、一个串行外设单元(SPI)、一个I2C总线接口单元。
串行通信控制器(SCC)根据型号不同集成多种功能,如以太网控制器、HDLC控制器等;它还能实现多通道HDLC控制器,例如:提供T1/E1接口,对在T1/E1中的每个时隙分别实现HDLC通信,如交换机中的7号信令处理。串行管理单元(SMC)的功能相对弱一些,一般用来实现UART。串行外设单元(SPI)用来实现与SPI总线通信。I2C总线接口支持主从模式,与具有I2C总线的器件单元进行通信。通信处理模块(CPM)中还含有4个独立的波特率发生器,可以被连接到串行通信控制器(SCC)和串行管理单元。除了这些处理通信协议的功能外,通信处理模块(CPM)还具有多个独立的DMA通道,进一步提高CPM的处理效率。
3.2 电路设计
本MPC860T系统中选用了256KB的EPROM、128MB的SDRAM,与以太网的接口器件选用Level one公司的LXT971A。该电路比较常见,引脚处理比较固定,故本文不再赘述。这里着重讨论MPC860T与MB86390之间的电路设计。在本设计中,需要MB86390芯片8位并口输出TS流。MB86390的8位并行输出口具有两种功能:当XERROR脚为高时,并行口输出正常的压缩码流,其异步接口时序如图4;当XERROR脚为低时,并行口上输出的是MB86390的错误报告。这样使电路设计相对复杂些。本设计方法是当XERROR变低时,使其对MPC860T产生中断,同时将STDATA口连接到MPC860T上空余的通用I/O脚上,根据中断后读其不同的值来实现软件相应的操作;当XERROR脚为高时,使用FIFO实现与MB86390之间的数据接口,在本设计中,选用IDT公司idt72v02,512×9bit异步FIFO。在FIFO的写入端,根据STEN和STDATA及FIFO的时序图,可以直接连接;在FIFO的读出端,使用中断操作,即当FIFO中数据达到半满时,给MPC860T一个中断,然后MPC860T连续读取FIFO中的一段数据。该部分的主要接口电路如图5。
1 系统框架
系统主体框图如图1,主要分两部分:一部分以Fujitsu的MB86390芯片为主实现图像实时压缩编码。该部分输入模拟视频、音频,经过视频A/D芯片SAA7113、音频A/D芯片PCM1800数字化后送至MB86390实现MPEG-2压缩,输出TS传输流,并且提供串行通信总线与MPC860T完成通信。另一部分是以MPC860T为主的通信电路设计,主要实现与MB86390输出的TS传输流的接口,完成TS传输流在快速以太网上的传送,与视频服务器的通信,提供通信口实现与MB86390芯片通信和对云台的控制。
|
2 图像压缩部分设计
2.1 MB86390编码器的介绍
该芯片框图如图2。该芯片内嵌32BITrisc处理器,主要完成实时压缩编码,在片内实现Mpeg2 MP@ML级视频编码,遵循ISO/IEC13818-2标准,最大编码速率达15Mbps;实现Mpeg Layer1/2音频编码,遵循ISO/IEC11172-3标准,最大编码速率达448kbps;同时遵循ISO/IEC13818-1标准实现系统数据复用,能输出PES、PS、TS流可选,并能根据系统所提供的带宽输出最大速率20Mbps。数字化后视频输入数据为8位,可以为D1格式或者Y/C复用输入格式。音频的取样率支持32kHz、44.1kHz和48kHz可选。码流输出通过8位并口,可同步或者异步握手输出,或通过DMA方式传送至SDRAM。该芯片还提供了丰富的API接口,可以对许多参数进行设置,如视频输入格式、音频采样率、编码后的各种PID、平均码率等。
|
2.2 电路设计
该部分电路主要完成 MB86390与视音频A/D的连接。MB86390基本上能与大多数芯片直接联接。在本设计中,选用SAA7113作为视频A/D。由于MB86390为其提供I2C总线接口,而且其初始化等操作能通过MB86390完成,相应的连线也比较方便;对于MB86390与音频A/D接口可以通过主从两种方式实现,即由MB86390提供数据与左右声道接口时钟,或者由音频A/D来提供。但是必须注意系统编码的时钟必须与接口数据时钟同步,在这里使用TI公司的PLL1705锁相环实现时钟同步。图3给出了这部分信号连接的电路。
|
3 接口通信部分设计
3.1 MPC860T网络通信处理器介绍
MPC860是Motorola公司继MC68360后推出的新一代通信处理器,内部包括三部分:PowerPC core模块、系统接口单元模块(SIU)、通信处理模块(CPM)。PowerPC是主处理单元,包括Cache和内存管理单元,在40MHz时钟下能达到52MIPS的处理能力。系统接口单元主要完成内部总线与外部总线的接口,也提供一些其它功能,如总线检测、软件看门狗、多个定时器、PCMCIA接口等。通信处理模块是该芯片的核心,其内部还嵌入了一个RISC。因而MPC860从某种意义上说,是一种双处理器结构。该模块集成了4个串行通信控制器(SCC)、2个串行管理单元(SMC)、一个串行外设单元(SPI)、一个I2C总线接口单元。
串行通信控制器(SCC)根据型号不同集成多种功能,如以太网控制器、HDLC控制器等;它还能实现多通道HDLC控制器,例如:提供T1/E1接口,对在T1/E1中的每个时隙分别实现HDLC通信,如交换机中的7号信令处理。串行管理单元(SMC)的功能相对弱一些,一般用来实现UART。串行外设单元(SPI)用来实现与SPI总线通信。I2C总线接口支持主从模式,与具有I2C总线的器件单元进行通信。通信处理模块(CPM)中还含有4个独立的波特率发生器,可以被连接到串行通信控制器(SCC)和串行管理单元。除了这些处理通信协议的功能外,通信处理模块(CPM)还具有多个独立的DMA通道,进一步提高CPM的处理效率。
3.2 电路设计
本MPC860T系统中选用了256KB的EPROM、128MB的SDRAM,与以太网的接口器件选用Level one公司的LXT971A。该电路比较常见,引脚处理比较固定,故本文不再赘述。这里着重讨论MPC860T与MB86390之间的电路设计。在本设计中,需要MB86390芯片8位并口输出TS流。MB86390的8位并行输出口具有两种功能:当XERROR脚为高时,并行口输出正常的压缩码流,其异步接口时序如图4;当XERROR脚为低时,并行口上输出的是MB86390的错误报告。这样使电路设计相对复杂些。本设计方法是当XERROR变低时,使其对MPC860T产生中断,同时将STDATA口连接到MPC860T上空余的通用I/O脚上,根据中断后读其不同的值来实现软件相应的操作;当XERROR脚为高时,使用FIFO实现与MB86390之间的数据接口,在本设计中,选用IDT公司idt72v02,512×9bit异步FIFO。在FIFO的写入端,根据STEN和STDATA及FIFO的时序图,可以直接连接;在FIFO的读出端,使用中断操作,即当FIFO中数据达到半满时,给MPC860T一个中断,然后MPC860T连续读取FIFO中的一段数据。该部分的主要接口电路如图5。
编码器 嵌入式 总线 电路 MIPS 看门狗 IDT 相关文章:
- 基于ARM与DSP的嵌入式运动控制器设计(04-25)
- 智能视频多媒体技术的应用(05-31)
- 高精度压力测控系统的试验研究(04-08)
- 2009视频监控:网络化及其推动的几大趋势(06-03)
- MSP430在大量程浮子式液位计中的应用(06-20)
- 无线IP视频监控应用即将井喷,Blackfin助您赢得先机(07-23)



