基于电源监控芯片的DSP图像处理系统设计
时间:11-28
来源:互联网
点击:
电源在所设计系统的设备中可以说是最简单的器件,但却必须放在整机设计的最后考虑。为了保证整机的可靠运转,对供电系统的要求越来越高。
在高速电路板中,例如视频处理卡,由于电路的高频特性,开关的电磁辐射和线路噪音都会干扰到达电路器件电压,即器件的实际工作电压。而现今的低电压、低功耗、高性能的芯片,如DSP芯片等对工作电压的要求非常高,一般都要求电压偏差不超过5%,若芯片的供电电压为3.3V,即电压偏差不能超过0.165V。否则,一旦工作电压超出这个范围,长时间工作容易缩短寿命甚至于烧毁。因此,在电路中需要通过电压监控电路来实现对电压的实时监控,以期电源能够为芯片提供合格而稳定的电压。
TI公司TPS330X系列电源监控芯片
TI已连续四年成为全球模拟半导体市场的领导者,在电源管理产品及接口方面保持着领先的地位。TI(德州仪器公司)在很早以前就发明了供应电压监控器(Supply-Voltage Supervisor,SVSs),并新近开发出TPS330x系列产品,这些产品结合了芯片内集成、省电结构设计和新的低电压选项,主要用于多种电压电路中系统芯片的供电电压监控,为用户提供高品质的电压。
作为TPS33X-XX系列的代表,TPS3307-33D具有以下优良特性:
(1) 主要用于多电压处理器体系,可以为DSP等芯片提供三通道监控电路;
(2) 200ms固定延时的上电复位发生器,无需外部扩展电容;
(3) 电压温度补偿;
(4) 可提供2"6V的大范围电压;
(5) 可稳定工作在-40°C to 85°C。
TPS3307-33D可监视两种独立电压,并且还可以控制另外一种电压,这种电压可以独立调整并内在与复位逻辑电路相连。其芯片管脚如图1所示。

图1 TPS3307管脚图
其中,SENSE 1,SENSE 2,SENSE3分别用于监控第一、第二、第三种电压;/MR即Manual Reset,可连接一个外部复位触发设备来实现电路人工复位;/RESER输出低电平有效复位信号;RESET输出高电平有效复位信号。其内部电路模块图表示如下图2所示。

图2 TPS3307芯片内部模块图
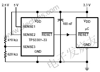
从图中可以看出,电压监控有内置晶振,核心部分非常稳定,并且具有温度补偿参考电压体系。第一、第二监控电压被内部电阻反压后与比较器的参考电压进行比较。SENSE 3管脚的输入电压直接与1.25V参考电压进行比较。基于TPS3307的一种典型的电压监控应用可以用图3的模块图表示。该电路可以同时监控2.5V、3.3V和5V三种电压。
如果SENSE 3的输入电压为2.5V,经内置分压电阻分压后,通过计算门槛电压VIT-可以得知,SENSE 3可以很好的监控2.5V电压。具体计算过程为:

这个值非常适合用于2.5V电源供电。

图3 TPS3307应用方案
该方案中的μC代表TMS320C6211、MSP430C325等微处理器。
TPS3307-33D在DSP图像处理系统中的应用
本系统是采用TI TMS320C6211芯片处理通过摄像头拍摄并经过A/D转换后的图像。DSP对图像进行压缩后,由DSP的HPI口通过TI的PCI2040芯片上传到上位机主板上,与上位机的PCI总线进行通信。系统设计中关键是视频处理卡的设计,由于市场上能够买到的视频卡一般功能都有限,不能满足本项目的需求,故自行设计一块视频卡。
在视频卡设计中,电源模块设计非常关键,它直接影响着视频卡的最后实现和稳定运行。电源设计包括两个部分:供电系统和电源检测及上电复位系统。对供电系统来说,为满足系统需要,必须能够提供四种电源电压,分别为-+5V、-5V、+3.3V和+1.8V。+5V电源由外部提供,而其它供电电压需要自行设计。在选择5V-3.3V DC-DC电压泵时,考虑电流大小为:TMS320C6211的130mA、SAA7111A的150mA、EPM7128S的300mA、AM29LV800B的30mA、IDT72V215的2×60mA、MT48LC4M16A2的2×230mA,电流共需在1.2A左右,加上其它的一些电压转换芯片和接口芯片,考虑1.5A的供电电流。即供电电流必须大于1.5A。在选择5V-1.8V DC-DC电压泵为DSP供电时,供电电流要大于830mA。
该系统中的电源检测及上电复位电路,是为保证系统在供电未达工作电压前,各器件不会处于不受控制的状态而设计的。该电路可
以保证这些器件在系统加电的过程中,始终处于复位状态,直到各供电电压达到正常工作电压。另外当电平下降到门限值以下的时候,会强制芯片进入复位状态。
本监控系统采用一片TI的TPS3307-33D作为电源检测IC。该器件定义在其供电VDD>1.1V时其/Reset即可输出有效的信号。如图4所示,在本系统中,该电路可以完成对5V、3.3V和1.8V三种供电电压的监测,并可以对系统的三种器件(C6211、EPLD和AT89C2051)同时进行上电复位和手工复位。

图4 TPS3307电源监控电路
其中+3.3V是TMS320C6211的I/O接口所需的电压,这是DSP外围接口电压,必须能够保持稳定、持续供电。其外接的SDRAM和FLASH ROM都是3.3V器件,若电压不稳,这些器件无法稳定工作,容易导致损耗甚至烧毁这些器件。
+1.8V供电是为了满足TMS320C6211的CPU核心工作电压需要。对于TMS320C6211来说,其工作频率为150MHz,对电压的变化非常敏感。电压过高会使器件损伤,电压过低芯片会自动复位。
在高速电路板中,例如视频处理卡,由于电路的高频特性,开关的电磁辐射和线路噪音都会干扰到达电路器件电压,即器件的实际工作电压。而现今的低电压、低功耗、高性能的芯片,如DSP芯片等对工作电压的要求非常高,一般都要求电压偏差不超过5%,若芯片的供电电压为3.3V,即电压偏差不能超过0.165V。否则,一旦工作电压超出这个范围,长时间工作容易缩短寿命甚至于烧毁。因此,在电路中需要通过电压监控电路来实现对电压的实时监控,以期电源能够为芯片提供合格而稳定的电压。
TI公司TPS330X系列电源监控芯片
TI已连续四年成为全球模拟半导体市场的领导者,在电源管理产品及接口方面保持着领先的地位。TI(德州仪器公司)在很早以前就发明了供应电压监控器(Supply-Voltage Supervisor,SVSs),并新近开发出TPS330x系列产品,这些产品结合了芯片内集成、省电结构设计和新的低电压选项,主要用于多种电压电路中系统芯片的供电电压监控,为用户提供高品质的电压。
作为TPS33X-XX系列的代表,TPS3307-33D具有以下优良特性:
(1) 主要用于多电压处理器体系,可以为DSP等芯片提供三通道监控电路;
(2) 200ms固定延时的上电复位发生器,无需外部扩展电容;
(3) 电压温度补偿;
(4) 可提供2"6V的大范围电压;
(5) 可稳定工作在-40°C to 85°C。
TPS3307-33D可监视两种独立电压,并且还可以控制另外一种电压,这种电压可以独立调整并内在与复位逻辑电路相连。其芯片管脚如图1所示。

图1 TPS3307管脚图
其中,SENSE 1,SENSE 2,SENSE3分别用于监控第一、第二、第三种电压;/MR即Manual Reset,可连接一个外部复位触发设备来实现电路人工复位;/RESER输出低电平有效复位信号;RESET输出高电平有效复位信号。其内部电路模块图表示如下图2所示。

图2 TPS3307芯片内部模块图
从图中可以看出,电压监控有内置晶振,核心部分非常稳定,并且具有温度补偿参考电压体系。第一、第二监控电压被内部电阻反压后与比较器的参考电压进行比较。SENSE 3管脚的输入电压直接与1.25V参考电压进行比较。基于TPS3307的一种典型的电压监控应用可以用图3的模块图表示。该电路可以同时监控2.5V、3.3V和5V三种电压。
如果SENSE 3的输入电压为2.5V,经内置分压电阻分压后,通过计算门槛电压VIT-可以得知,SENSE 3可以很好的监控2.5V电压。具体计算过程为:

这个值非常适合用于2.5V电源供电。

图3 TPS3307应用方案
该方案中的μC代表TMS320C6211、MSP430C325等微处理器。
TPS3307-33D在DSP图像处理系统中的应用
本系统是采用TI TMS320C6211芯片处理通过摄像头拍摄并经过A/D转换后的图像。DSP对图像进行压缩后,由DSP的HPI口通过TI的PCI2040芯片上传到上位机主板上,与上位机的PCI总线进行通信。系统设计中关键是视频处理卡的设计,由于市场上能够买到的视频卡一般功能都有限,不能满足本项目的需求,故自行设计一块视频卡。
在视频卡设计中,电源模块设计非常关键,它直接影响着视频卡的最后实现和稳定运行。电源设计包括两个部分:供电系统和电源检测及上电复位系统。对供电系统来说,为满足系统需要,必须能够提供四种电源电压,分别为-+5V、-5V、+3.3V和+1.8V。+5V电源由外部提供,而其它供电电压需要自行设计。在选择5V-3.3V DC-DC电压泵时,考虑电流大小为:TMS320C6211的130mA、SAA7111A的150mA、EPM7128S的300mA、AM29LV800B的30mA、IDT72V215的2×60mA、MT48LC4M16A2的2×230mA,电流共需在1.2A左右,加上其它的一些电压转换芯片和接口芯片,考虑1.5A的供电电流。即供电电流必须大于1.5A。在选择5V-1.8V DC-DC电压泵为DSP供电时,供电电流要大于830mA。
该系统中的电源检测及上电复位电路,是为保证系统在供电未达工作电压前,各器件不会处于不受控制的状态而设计的。该电路可
以保证这些器件在系统加电的过程中,始终处于复位状态,直到各供电电压达到正常工作电压。另外当电平下降到门限值以下的时候,会强制芯片进入复位状态。
本监控系统采用一片TI的TPS3307-33D作为电源检测IC。该器件定义在其供电VDD>1.1V时其/Reset即可输出有效的信号。如图4所示,在本系统中,该电路可以完成对5V、3.3V和1.8V三种供电电压的监测,并可以对系统的三种器件(C6211、EPLD和AT89C2051)同时进行上电复位和手工复位。

图4 TPS3307电源监控电路
其中+3.3V是TMS320C6211的I/O接口所需的电压,这是DSP外围接口电压,必须能够保持稳定、持续供电。其外接的SDRAM和FLASH ROM都是3.3V器件,若电压不稳,这些器件无法稳定工作,容易导致损耗甚至烧毁这些器件。
+1.8V供电是为了满足TMS320C6211的CPU核心工作电压需要。对于TMS320C6211来说,其工作频率为150MHz,对电压的变化非常敏感。电压过高会使器件损伤,电压过低芯片会自动复位。
电路 电压 DSP 半导体 电源管理 德州仪器 电容 电阻 比较器 MSP430 总线 电源模块 电流 IDT 开关电源 PCB 射频 电感 变压器 相关文章:
- 基于P89C61x2/ISP1581的USB接口电路的设计(02-13)
- 行波管关断方式对应用系统可靠性的影响(06-24)
- 基于VME总线的RDC接口电路设计(06-29)
- 单芯片集成电路优化自适应转向大灯系统的设计 (07-12)
- 单片机应用系统的抗干扰技术(08-07)
- 基于FPGA的线阵CCD驱动器设计(11-26)
