用电容传感器按钮设计电子开关 用电容传感器按钮设计电子开关
时间:08-24
来源:互联网
点击:
本设计是用电容传感器按钮(PCB圆形或方形垫片)替代机电开关。PIC12CXXX MCU 非常适合于这种应用,用少量元件就可设计一种价廉的全电子开关。此方法采用一个简单的RC延迟电路(图1),当按传感器时其时间常数发生变化。
为了读出传感器的状态,微控制器必须执行如下两步(图2和图3):
1:改变输出状态,从"0"到"1"(写操作-Twr)
2:读输入状态(读操作-Trd)
假若读操作的结果是"0",这意味着传感器被按。为手指电容串联连接到电容器C,使电路的时间常数较大。
因为为手指电容小,Twr和Trd之间的间隔时间小于1~2μs,所以建议PIC12CXXX内部时钟用4MHz。
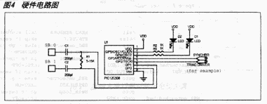
在图4硬件电路图中包含两个传感器按钮。其技巧是对于读传感器SB0:GP0设置为输入,GP1设置为输出;而对于读SB1:GP0设置为输出,GP1设置为输入。GP4,5连接至LED,指示传感器按钮的状态,PIC12C508其他引脚在此不讨论,它们可用做为SYNCRO输入和TRIAC DRIVER输出。

必须调节电阻器R1的值,它确定按钮的灵敏度。电容器C1和C2的值不是太重要。建议用与微控制器输入相同类型的,具有相等的输入阻抗。
软件流程示于图5。
为了读出传感器的状态,微控制器必须执行如下两步(图2和图3):
![]() | ![]() |
1:改变输出状态,从"0"到"1"(写操作-Twr)
2:读输入状态(读操作-Trd)
假若读操作的结果是"0",这意味着传感器被按。为手指电容串联连接到电容器C,使电路的时间常数较大。
因为为手指电容小,Twr和Trd之间的间隔时间小于1~2μs,所以建议PIC12CXXX内部时钟用4MHz。
在图4硬件电路图中包含两个传感器按钮。其技巧是对于读传感器SB0:GP0设置为输入,GP1设置为输出;而对于读SB1:GP0设置为输出,GP1设置为输入。GP4,5连接至LED,指示传感器按钮的状态,PIC12C508其他引脚在此不讨论,它们可用做为SYNCRO输入和TRIAC DRIVER输出。

必须调节电阻器R1的值,它确定按钮的灵敏度。电容器C1和C2的值不是太重要。建议用与微控制器输入相同类型的,具有相等的输入阻抗。
软件流程示于图5。
电容 传感器 PCB PIC MCU 电子 电路 电容器 电路图 LED 电阻 相关文章:
- 运放电路设计中无源元件的选择(01-23)
- OTL功放电路中的自举电容(01-26)
- DC-DC电荷泵的研究与设计(01-05)
- 为DC/DC转换器选择正确的电感器与电容器(01-02)
- 去耦电容和旁路电容 (10-29)
- 正确选择电容种类优化电脑音质(01-25)


