基于linux的多功能网关的设计
时间:08-17
来源:互联网
点击:
1 引言
随着世界范围内网络和信息技术的日趋成熟,在工业通信和自动化应用中日益采用以太 网和TCP/IP 协议作为最主要的通信接口和手段,向网络化、标准化、开放性方向发展将是 各种控制系统技术发展的主要潮流。然而,采用串口进行通信的现场设备仍然大量存在,且 必将在相当长的一段时间内存在。因此,在串口设备和工业以太网之间就需要有一个桥梁, 来消除工业现场中的“信息孤岛”。
Modbus/TCP 是Modbus 的延伸,它基于以太网和标准TCP/IP 协议,直接应用第四层。 它定义了一个结构简单的、开放和广泛应用的传输协议,用于主从式通信。Modbus TCP/IP 基本上用简单方式将Modbus 帧嵌入TCP 帧,是一种面向连接的传送,它需要响应。在TCP 帧中使用开放的Modbus 提供了一种系统规模可伸缩的方案,由10 个节点到100 个网络节 点。Modbus TCP/IP 在工业现场得到了广泛的应用,是目前工业以太网通信的事实上的标准。
本文以 MOXA 的嵌入式工控机UC7402-LX 为平台,在深入研究MODBUS 通信协议的 基础上,设计了一款多功能网关,既可以实现MODBUS/TCP 与MODBUS/RTU 的双向转换, 同时也可以实现MODBUS/TCP 与自定义串口通信协议的双向转换。
2 硬件平台简介
MOXA UC7402-LX 采用Intel Xscale IXP-422 266Mhz 处理器,内嵌Apache 网页服务器 支持PHP 和XML,低功耗和无风扇的设计使其结构紧凑,非常适合在工业环境当中使用。 MOXA UC7402-LX 配备有2 个10/100 Mbps 网口和8 个可通过软件设置的RS-232/485/422 串口,并预装有linux 系统。
3 MODBUS 协议
MODBUS是 MODICNO公司最先倡导的一种通信协议,经过许多公司的实际应用,逐渐被认 可,成为一种应用于工业控制器上的标准通信协议,由于其功能比较完善而且协议开放,因此,被广泛应用于工业现场,在微机化测量设备之间实现双向串行多节点数字通信。它连接 单个分散的测量控制设备,使之可以相互沟通信息、共同完成自控任务的网络系统与控制系 统,具有分散控制、使用简单、简化系统结构、数据易于处理、节约硬件设备、易于安装和 维护等优点。
3.1 MODBUS RTU
MODBUS有两种串行传输模式,即RTU模式和ASCII模式。RTU模式以十六进制传送数据, 每个8bit字节包含两个4bit的十六进制字符。而ASCII模式是将一个字节分为两个ASCII字符 发送。因而在同样的波特率下,RTU模式比ASCII模式具有更高的吞吐率。大多数工业控制器 采用RTU模式。
MODBUS RTU的报文帧和字节长度如表1所示,报文总是由起始位、设备地址、功能码、 数据域、校验域和结束位组成。

3.2 MODBUS TCP
Modbus TCP 只是在 TCP/IP 协议的基础上进一步进行了modbus 报文的封装,其数据帧 如图1 所示,包含了报文头,功能代码和数据三部分,其中MBAP 报文头各域及所占字节长 度如表2 所示。

4 多功能网关软件设计
4.1 modbus tcp 与modbus rtu 协议转换
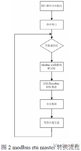
由上可知,modbus tcp 与modbus rtu 的协议转换的核心即为数据帧的解封装与封装。 Modbus 最初在串行链路上的实现(最大RS485ADU=256 字节)限制了Modbus PDU 的长度。 因此,对串行链路通信来说,Modbus PDU=256-服务器地址(1 字节)-CRC(2 字节)=253字节。从而:RS232 / RS485 ADU = 253 字节+服务器地址(1 字节) + CRC (2 字节)= 256 字节。 TCP Modbus ADU = 253 字节+ MBAP (7 字节) = 260 字节。如图3 所示为modbus RTU 为 master 时的软件流程图,部分代码摘录如下:




4.2 modbus tcp 与自定义串口协议转换
自定义串口协议与 modbus rtu 类似,但由于其协议为自定义的,导致ADU 的格式并不 固定,这就需要定制该函数。本文目前只针对单一设备的情况,因此采取将串口数据帧直接 作为modbus tcp 的PDU,而MBAP 采用固定格式处理,完成了对单一串口单台设备连接的 透明处理。
5 结束语
Frenic-Mini 为富士的一款变频器,支持简易的modbus 的协议。本设计利用Frenic-mini 连接三相异步电机,采用modbus rtu 与moxa 7402-LX 通信,成功地实现了远程变频器停启 及频率读取。如下图4 所示,为测试连接图。
随着世界范围内网络和信息技术的日趋成熟,在工业通信和自动化应用中日益采用以太 网和TCP/IP 协议作为最主要的通信接口和手段,向网络化、标准化、开放性方向发展将是 各种控制系统技术发展的主要潮流。然而,采用串口进行通信的现场设备仍然大量存在,且 必将在相当长的一段时间内存在。因此,在串口设备和工业以太网之间就需要有一个桥梁, 来消除工业现场中的“信息孤岛”。
Modbus/TCP 是Modbus 的延伸,它基于以太网和标准TCP/IP 协议,直接应用第四层。 它定义了一个结构简单的、开放和广泛应用的传输协议,用于主从式通信。Modbus TCP/IP 基本上用简单方式将Modbus 帧嵌入TCP 帧,是一种面向连接的传送,它需要响应。在TCP 帧中使用开放的Modbus 提供了一种系统规模可伸缩的方案,由10 个节点到100 个网络节 点。Modbus TCP/IP 在工业现场得到了广泛的应用,是目前工业以太网通信的事实上的标准。
本文以 MOXA 的嵌入式工控机UC7402-LX 为平台,在深入研究MODBUS 通信协议的 基础上,设计了一款多功能网关,既可以实现MODBUS/TCP 与MODBUS/RTU 的双向转换, 同时也可以实现MODBUS/TCP 与自定义串口通信协议的双向转换。
2 硬件平台简介
MOXA UC7402-LX 采用Intel Xscale IXP-422 266Mhz 处理器,内嵌Apache 网页服务器 支持PHP 和XML,低功耗和无风扇的设计使其结构紧凑,非常适合在工业环境当中使用。 MOXA UC7402-LX 配备有2 个10/100 Mbps 网口和8 个可通过软件设置的RS-232/485/422 串口,并预装有linux 系统。
3 MODBUS 协议
MODBUS是 MODICNO公司最先倡导的一种通信协议,经过许多公司的实际应用,逐渐被认 可,成为一种应用于工业控制器上的标准通信协议,由于其功能比较完善而且协议开放,因此,被广泛应用于工业现场,在微机化测量设备之间实现双向串行多节点数字通信。它连接 单个分散的测量控制设备,使之可以相互沟通信息、共同完成自控任务的网络系统与控制系 统,具有分散控制、使用简单、简化系统结构、数据易于处理、节约硬件设备、易于安装和 维护等优点。
3.1 MODBUS RTU
MODBUS有两种串行传输模式,即RTU模式和ASCII模式。RTU模式以十六进制传送数据, 每个8bit字节包含两个4bit的十六进制字符。而ASCII模式是将一个字节分为两个ASCII字符 发送。因而在同样的波特率下,RTU模式比ASCII模式具有更高的吞吐率。大多数工业控制器 采用RTU模式。
MODBUS RTU的报文帧和字节长度如表1所示,报文总是由起始位、设备地址、功能码、 数据域、校验域和结束位组成。

3.2 MODBUS TCP
Modbus TCP 只是在 TCP/IP 协议的基础上进一步进行了modbus 报文的封装,其数据帧 如图1 所示,包含了报文头,功能代码和数据三部分,其中MBAP 报文头各域及所占字节长 度如表2 所示。

4 多功能网关软件设计
4.1 modbus tcp 与modbus rtu 协议转换
由上可知,modbus tcp 与modbus rtu 的协议转换的核心即为数据帧的解封装与封装。 Modbus 最初在串行链路上的实现(最大RS485ADU=256 字节)限制了Modbus PDU 的长度。 因此,对串行链路通信来说,Modbus PDU=256-服务器地址(1 字节)-CRC(2 字节)=253字节。从而:RS232 / RS485 ADU = 253 字节+服务器地址(1 字节) + CRC (2 字节)= 256 字节。 TCP Modbus ADU = 253 字节+ MBAP (7 字节) = 260 字节。如图3 所示为modbus RTU 为 master 时的软件流程图,部分代码摘录如下:




4.2 modbus tcp 与自定义串口协议转换
自定义串口协议与 modbus rtu 类似,但由于其协议为自定义的,导致ADU 的格式并不 固定,这就需要定制该函数。本文目前只针对单一设备的情况,因此采取将串口数据帧直接 作为modbus tcp 的PDU,而MBAP 采用固定格式处理,完成了对单一串口单台设备连接的 透明处理。
5 结束语
Frenic-Mini 为富士的一款变频器,支持简易的modbus 的协议。本设计利用Frenic-mini 连接三相异步电机,采用modbus rtu 与moxa 7402-LX 通信,成功地实现了远程变频器停启 及频率读取。如下图4 所示,为测试连接图。
- 中压电力线通信技术(01-07)
- 北京华深校园办公自动化系统方案(02-14)
- 基于DSP技术的变电站综合自动化系统简介(11-10)
- 数据中心的网络虚拟化和自动化(01-31)
- OFDM调制技术的配电自动化通信系统研究(02-17)
- 基于ITIL的云计算实施方案 (02-08)
