检查系统安全和仪器保护
进行布线和夹具设计时,考虑系统安全性也很重要。为了确定操作人员以及仪器会遇到什么危险,要对各种故障情况进行思考,包括因操作人员失误以及因器件状态变化而带来的故障。
大电流测试的潜在危险之一是火灾或或烧伤危险。在大电流测试期间,要使待测器件处于封闭状态,这样,即使器件出现故障,也可以使用户免遭火灾或飞溅物体的伤害。
触电危险是高压测试的潜在危险之一。如果仪器(或器件)能够输出42V以上的直流电压,那么随时都存在触电危险。正确的测试系统配置必须包括保护操作人员和未受训练用户免遭触电危险的装置。
上电后,用户应当无法接入内部有高压的系统。安全互锁是限制接入的一种装置。吉时利的所有现代源测量单元(SMU)都包括互锁装置,因此,只有当互锁线路工作时,才会启动大功率。互锁旨在与每个系统接入点的常开开关一起使用。当使用多个具有触电危险的仪器时,要将这些仪器连接在一起,这样,如果系统接入点开启,所有仪器的输出都被禁用。当遇到多个接入点时,每个接入点都需要单独的开关,而且所有这些开关都应当串联。具体说明参见图1。
所有仪器的5V电源都是组合的,从外部通过开关连接,并用于启动互锁。当使用多个源测量单元(SMU)的5V电源时,可以使用肖特基二极管,以防止每个源测量单元(SMU)的5V电源彼此后驱动。肖特基二极管是首选,因为它们具有较低的正向电压;因此,它们不太可能影响启动互锁线路所需的电压。
根据测试设置中源测量单元(SMU)的数量,一个源测量单元(SMU)的5V电源可能驱动系统中另一个源测量单元(SMU)的互锁线路。为此,要核对仪器指标中的安全互锁引脚,以确定驱动每个源测量单元(SMU)互锁引脚所需的电流大小。此外,还要核对5V电源引脚指标,以确定其电流容量。作为选择,可以使用外部电源来驱动源测量单元(SMU)的互锁线路。
图 1 一个具有多个接入点的系统连接多个源测量单元(SMU)时的配置
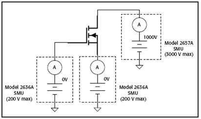
除了操作人员的安全,保护系统测试仪器安全也很重要。要认真考虑器件故障的可能影响。图2给出N-沟道FET在漏极-源极击穿电压附近进行关闭状态漏电流测试的常见配置。在门极端电压较低的源测量单元(SMU),确保器件处于关闭状态。在源极端电压较低的源测量单元(SMU)将对源端电流进行直接测量。不过,如果在漏极-源极之间出现意外击穿,那么3kV的源测量单元(SMU)有可能损坏200V的源测量单元(SMU)。在门极和漏极之间也存在着同样的受损可能。
图 2 在器件击穿或故障情况下,2657A型源测量单元(SMU)有可能损坏任何一个2636A型源测量单元(SMU)
为了在器件击穿或器件故障情况下保护耐压较低的源测量单元(SMU),可以使用过压保护器件。在正常情况下,过压保护器件应当不会给测试电路带来什么影响,但遇到过压情况时,将对电压进行嵌位。吉时利2657A-PM-200型200V保护模块,可以用于包含2657A型以及电压较低源测量单元(SMU)的测试系统。在过压情况下,该保护模块将在微秒之内将外部高压源嵌位在2V左右。在非嵌位情况下,在较低电压的源测量单元(SMU)中将保持皮安级电流源和测量能力。[1]
当器件故障致使仪器遭受大电流时,也可能造成仪器损坏。要确保所有接入端的仪器都能够处置器件端口正常出现的电流。为了限制器件故障导致较大电流而带来的仪器损坏,要使用串联电阻器限制通过任意仪器的最大电流。在击穿电压或漏电流特性分析期间,用户必须小心限制通过器件的电流大小,这样,才能保证测试不是破坏性的。虽然源测量单元(SMU)具有设定的电流限制,但在对负载变化做出响应时,这些主动限制会耗费一定的时间(所谓的“瞬态响应时间”)。当负载阻抗变化非常迅速时,可能出现超出设定限制的电流。增加串联电阻,可以迫使该端口在瞬态条件下也能保持最大电流的平稳。
要保证选择满足测试系统最大电流、最大电压和最大功率额定值的电阻器。这种电阻器一般将起到两个作用。在晶体管开启状态特性分析期间,通常以与门极串联的方式添加电阻,从而使高增益器件中常见的门极电压振铃和振动达到最小。此外,在晶体管关闭状态特性分析中,通常利用电阻器来限制击穿期间流过的最大电流,防止过早的器件故障。
想申请组合吉时利2651A高功率数字源表测试高达100A电流的应用笔记(中文),请点击
http://www.keithley.com.cn/promo/wb/292
想与吉时利测试测量专家互动?想有更多学习资源?可关注吉时利官方网站http://www.keithley.com.cn/
[1]
吉时利2657A-PM-200型保护模块的过压保护在~220V触发。因此,对于最大输出电压能力不到200V的源测量单元(SMU),不推荐使用。另外,也不推荐使用2657A-PM-200保护模块来保护2651A型大功率系统数字源表的HI端和LO端。该保护模块额定值不适合2651A型产品最大输出电流。
- 高可靠性系统中电流检测的实际考虑(03-12)
- 挑战毫微安电流测量技术(上)(08-02)
- 二极管泄漏电流以及MOSFET的亚阈区电流的测量(09-22)
- 瞬间变化电流检测仪的设计和应用(10-26)
- 雪崩光电二极管反向电流的测量(01-11)
- BJT参数测试仪中数控微电流源研究与实现(07-11)
