用于MSP430单片机的温度测量实验设计
时间:03-23
来源:互联网
点击:
随着时代的发展,科学技术也不断进步,新的科学技术在各个领域里广泛应用。高等教育是培养高水平人才的重要途径,但目前某些教学内容还比较落后,并没有跟上现代科技的发展。在高等教育的课程中引入更多的现代技术,有利于对人才的培养。本文介绍一种应用MSP4 30单片机测量温度的方法,来代替传统教学中相对落后的热敏电阻结合电流表的实验方法。
1 温度测量部分
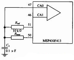
用于测量温度的温度敏感元件有很多种,比如热电偶、热敏电阻、集成温度传感器、数字温度传感器等等。本系统采用的是热敏电阻。热敏电阻由对温度非常敏感的半导体陶瓷质工作体构成。与一般常用的金属电阻相比,它有较大的电阻温度系数,可以获得较高的温度分辨率。不同材料制成的热敏电阻适用的测温范围不同,如CuO和MnO2制成的热敏电阻适用于-70~120℃,适于测量体温。温度是模拟量,要把被测的模拟量转换成数字量,以供单片机处理。为了节约成本,可以通过斜率A/D转换来实现模数转换。斜率A/D转换是利用外接电容的充电和放电来实现的。电路连接如图1所示。
2 温度显示部分
MSP430F413带有液晶驱动电路和显示缓存,通过对显存中各位的置位和复位来使得液晶屏上对应的段显示或消失,将斜率转换后得到的数据发送到显存,就可以在液晶屏上显示出测得的温度。MSP430有4种驱动方式,选用哪种驱动方式由需要驱动的液晶段数以及液晶屏的管脚和液晶屏内部电极的排布决定。本系统采用的液晶屏是大连东显电子有限公司生产的EDS812液晶显示屏。该显示屏可以显示3位数字,有24个管脚,其中1个公共极管脚,23个段极管脚。由于该液晶屏只有1个公共极,只能采用静态驱动方式。根据图2和表1所示的对应关系连接MSP4 30和EDS812,并将数据写入显存,即可显示出测得的温度。
键盘是人机对话的输入设备,通过键盘可以设置系统参数,控制系统运行。单片机应用系统的键盘可采用非行列式键盘和行列式键盘。非行列式键盘的硬件电路和执行软件都比较简单,消耗CPU资源少,但只适用于按键较少的情况。本系统只有一个电源开关键和一个温度测量键,适于采用非行列式键盘。本系统采用轻触按键,它是通过开关状态来实现其功能的。在实际应用中,单片机的运行速度相对于操作者按键的速度来说是非常快的,这样就必须考虑按下按键前后的抖动问题。本系统采用软件延时来消除抖动,即当系统检测到有按键按下时,经过20 ms再次检测是否该按键被按下。如果检测到该按键确实被按下,则执行该按键对应的功能;如果没有检测到该按键被按下,则继续保持待机状态。
4 结语
利用以上系统可以精确地测得温度。不同学校可以根据具体的教学要求在硬件连接、软件设计等方面制定具体的实验步骤。通过该实验使学生将基础课的教学阶段初步掌握单片机、传感器、集成电路的应用。由本系统构成的实验仪器和传统的实验仪器相比较应用了更多的现代科学技术,也更接近实际的仪器设备,可以使学生将学校中学到的知识更好地应用到实际工作当中。
来源:电子工程网
1 温度测量部分
用于测量温度的温度敏感元件有很多种,比如热电偶、热敏电阻、集成温度传感器、数字温度传感器等等。本系统采用的是热敏电阻。热敏电阻由对温度非常敏感的半导体陶瓷质工作体构成。与一般常用的金属电阻相比,它有较大的电阻温度系数,可以获得较高的温度分辨率。不同材料制成的热敏电阻适用的测温范围不同,如CuO和MnO2制成的热敏电阻适用于-70~120℃,适于测量体温。温度是模拟量,要把被测的模拟量转换成数字量,以供单片机处理。为了节约成本,可以通过斜率A/D转换来实现模数转换。斜率A/D转换是利用外接电容的充电和放电来实现的。电路连接如图1所示。
图1 电阻测量示意图
应用MSP430的比较器(Comparator_A)和定时器(Timer_A),可以测量热敏电阻的阻值。根据阻值和温度的对应关系可以得出待测的温度,实现A/D转换。将Comparator_A的CA0端接外部信号,CA1端接内部参考电压0.25Vcc.Timer_A工作在捕获模式,下降沿捕获,通过CCI1B捕获CAOUT.先使P1.2端口输出高电平,通过Rref给电容C6充电。充电完毕时,CA0端电压高于CA1端电压,CAOUT输出1.读Timer_A的计数值t0,t0=TAR.然后再使P1.2端口输出低电平,电容C6通过Rref放电,当CA0端电压降至0.25Vcc时,Comparator_A输出翻转,CAOUT输出0,Timer_A通过CCI1B捕获到下降沿,触发定时器中断,读出捕获值CCR1,t1=CCR1.C6通过Rref放电到0.25Vcc的时间time_ref=t1-t0.再对热敏电阻Rsens充电和放电,同样测出C6通过Rsens放电到0.25Vcc的时间time_sens.由下面的公式可以计算出热敏电阻(Rsens)的阻值。
2 温度显示部分
MSP430F413带有液晶驱动电路和显示缓存,通过对显存中各位的置位和复位来使得液晶屏上对应的段显示或消失,将斜率转换后得到的数据发送到显存,就可以在液晶屏上显示出测得的温度。MSP430有4种驱动方式,选用哪种驱动方式由需要驱动的液晶段数以及液晶屏的管脚和液晶屏内部电极的排布决定。本系统采用的液晶屏是大连东显电子有限公司生产的EDS812液晶显示屏。该显示屏可以显示3位数字,有24个管脚,其中1个公共极管脚,23个段极管脚。由于该液晶屏只有1个公共极,只能采用静态驱动方式。根据图2和表1所示的对应关系连接MSP4 30和EDS812,并将数据写入显存,即可显示出测得的温度。
图2 显存、液晶段、MSP430管脚的对应关系
表1 EDS812的管脚
键盘是人机对话的输入设备,通过键盘可以设置系统参数,控制系统运行。单片机应用系统的键盘可采用非行列式键盘和行列式键盘。非行列式键盘的硬件电路和执行软件都比较简单,消耗CPU资源少,但只适用于按键较少的情况。本系统只有一个电源开关键和一个温度测量键,适于采用非行列式键盘。本系统采用轻触按键,它是通过开关状态来实现其功能的。在实际应用中,单片机的运行速度相对于操作者按键的速度来说是非常快的,这样就必须考虑按下按键前后的抖动问题。本系统采用软件延时来消除抖动,即当系统检测到有按键按下时,经过20 ms再次检测是否该按键被按下。如果检测到该按键确实被按下,则执行该按键对应的功能;如果没有检测到该按键被按下,则继续保持待机状态。
4 结语
利用以上系统可以精确地测得温度。不同学校可以根据具体的教学要求在硬件连接、软件设计等方面制定具体的实验步骤。通过该实验使学生将基础课的教学阶段初步掌握单片机、传感器、集成电路的应用。由本系统构成的实验仪器和传统的实验仪器相比较应用了更多的现代科学技术,也更接近实际的仪器设备,可以使学生将学校中学到的知识更好地应用到实际工作当中。
来源:电子工程网
单片机 电阻 电流 传感器 温度传感器 半导体 电容 电路 MSP430 比较器 电压 电子 集成电路 相关文章:
- 自学单片机心得体会(06-17)
- 基于霍尔传感器的直流电机转速测量系统设计(11-14)
- 基于8051F单片机的数字音频信号源的幅度控制(12-01)
- 动态参数检测与虚拟仪器综合系统设计(11-26)
- 基于C8051F005单片机的小电阻测试仪(01-05)
- 基于MSP430F149的阻抗测量系统设计(01-15)
